Dallas Invents is a weekly look at U.S. patents granted with a connection to the Dallas-Fort Worth-Arlington metro area. Listings include patents granted to local assignees and/or those with a North Texas inventor. Patent activity can be an indicator of future economic growth, as well as the development of emerging markets and talent attraction. By tracking both inventors and assignees in the region, we aim to provide a broader view of the region’s inventive activity. Listings are organized by Cooperative Patent Classification (CPC).
THIS WEEK, BY THE NUMBERS
Week of Aug. 22, 2017 | Dallas-Fort Worth-Arlington (19100)
56 patents granted Ranked no. 14 in patent production out of 250 metros
NO. OF PATENTS BY CLASSIFICATION
TOP 3 LOCAL ASSIGNEES (NO. OF PATENTS)
1. SanDisk Technologies LLC, Plano (4)
2. Futurewei Technologies Inc. Plano (3)
3. Conduent Business Services LLC Dallas (2) TIE
Mary Kay Inc. Addison (2) TIE
TOP LOCAL INVENTOR (NO. OF PATENTS)
Jenny DeMarco Staab, Frisco (2) TIE
SPEED: APPLICATION TO ISSUE (NO. OF DAYS)
134 days
Proxy wordline stress for read disturb detection, patent no. 9741444
SanDisk Technologies LLC, Plano
2490 days
Method for determining risk of diabetes, patent no. 9740819
True Health IP LLC, Frisco
Don’t miss Dallas Invents: Sign up for the Dallas Innovates e-newsletter.
Patent information is provided by Joe Chiarella, founder of patent analytics company Patent Index and publisher of The Inventiveness Index. For additional details on the patents granted below, search the USPTO Patent Full-Text and Image Database.
UTILITY PATENTS
H U M A N N E C E S S I T I E S

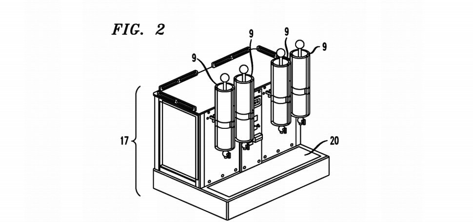
[Image via patent no. 9737081]
Hot beverage brewing system and use thereof
Patent No. 9737081
Inventor(s): Casey Dodge (Bozeman, MT), Casey Smith (Bozeman, MT), Khristian Bombeck (Bozeman, MT)
Assignee(s): ALPHA DOMINCHE HOLDINGS, INC. (Dallas, TX)
Law Firm: Phillips Ryther Winchester (1 non-local offices)
Application No., Date, Speed: 14253487 on 04/15/2014 (1225 days app to issue)
Abstract: In described embodiments, a hot liquid extraction system includes a vessel, a controllable steam and water source external from the vessel which heats the liquid of the corresponding vessel, a filter assembly disposed within the vessel operable to filter and remove a solid from the brewed beverage, and a valve to dispense the filtered beverage from the base of the brew vessel. Some embodiments include one or more valves operable to regulate water flow and steam into the brewing vessel, and a filter operable to separate a brewed liquid from a flavor base and to remove a spent flavor base from the system. Some embodiments include processor control of the system, allowing for operation tailored to individual user requirements that might be downloaded to the processor through various wired and non-wired interfaces.
Adaptive pivoting and impact reduction tip assembly for walking aids
Patent No. 9737121
Inventor(s): Dale Bourland Jordan (Birmingham, AL), James Dale Jordan (Grapevine, TX), Shyh Min Chen (Plano, TX)
Assignee(s): 3C AUTOMATION, INC. (Plano, TX)
Law Firm: Averill Green (1 non-local offices)
Application No., Date, Speed: 15368333 on 12/02/2016 (263 days app to issue)
Abstract: An adaptive ambulatory support includes a shock absorbing and pivoting tip assembly attached to the staff of a walking aid, such as a cane, crutch or walker. The shock absorbing and pivoting tip assembly includes a shock absorber sandwiched between a lower portion and an upper portion. The shock absorber may be a bendable spring or elastic material. The tip assembly enables the shaft of the walking aid to dynamically pivot without the loss of adherence of the lower portion to the floor surface and simultaneous provides the adaptive shock absorbing capability in any angle during ambulation.
[A45B] WALKING STICKS (walking aids, e.g. sticks, for blind persons A61H 3/06); UMBRELLAS; LADIES’ OR LIKE FANS (cane or umbrella stands or holders A47G 25/12)
Wrist-forearm-elbow anti-rotation orthosis
Patent No. 9737431
Inventor(s): John Hely (Roanoke, TX)
Assignee(s): Weber Orthopedic, Inc. (Santa Paula, CA)
Law Firm: One LLP (Local + 141 other metros)
Application No., Date, Speed: 14825076 on 08/12/2015 (741 days app to issue)
Abstract: A wrist-forearm-elbow anti-rotation support system and process that do not require a hardenable material. The system includes an orthopedic support such as a wrist-hand orthosis, wrist-hand-thumb orthosis, joined to a bottle-shaped forearm wrap with opposed flaps formed into a clamshell. Proximal elbow flaps include a center elbow region that extends from the proximal end of the forearm wrap. Attaching straps and/or cross straps extending from the proximal elbow flaps attach to the forearm flaps and may crisscross. Hook and loop fasteners extending from the distal edge of the forearm wrap attach the forearm flaps.
[A61F] FILTERS IMPLANTABLE INTO BLOOD VESSELS; PROSTHESES; DEVICES PROVIDING PATENCY TO, OR PREVENTING COLLAPSING OF, TUBULAR STRUCTURES OF THE BODY, E.G. STENTS; ORTHOPAEDIC, NURSING OR CONTRACEPTIVE DEVICES; FOMENTATION; TREATMENT OR PROTECTION OF EYES OR EARS; BANDAGES, DRESSINGS OR ABSORBENT PADS; FIRST-AID KITS (dental prosthetics A61C) [2006.01]
Coatings containing multiple drugs
Patent No. 9737645
Inventor(s): James P. DeYoung (Dallas, TX)
Assignee(s): Micell Technologies, Inc. (Durham, NC)
Law Firm: Lerner, David, Littenberg, Krumholz Mentlik, LLP (1 non-local offices)
Application No., Date, Speed: 14969884 on 12/15/2015 (616 days app to issue)
Abstract: A method for depositing a coating comprising a polymer and at least two pharmaceutical agents on a substrate, comprising the following steps: providing a stent framework; depositing on said stent framework a first layer comprising a first pharmaceutical agent; depositing a second layer comprising a second pharmaceutical agent; Wherein said first and second pharmaceutical agents are selected from two different classes of pharmaceutical agents.
[A61L] METHODS OR APPARATUS FOR STERILISING MATERIALS OR OBJECTS IN GENERAL; DISINFECTION, STERILISATION, OR DEODORISATION OF AIR; CHEMICAL ASPECTS OF BANDAGES, DRESSINGS, ABSORBENT PADS, OR SURGICAL ARTICLES; MATERIALS FOR BANDAGES, DRESSINGS, ABSORBENT PADS, OR SURGICAL ARTICLES (preservation of bodies or disinfecting characterised by the agent employed A01N; preserving, e.g. sterilising, food or foodstuffs A23; preparations for medical, dental or toilet purposes A61K) [4]
Systems and methods for applying reduced pressure therapy
Patent No. 9737649
Inventor(s): Carrie Lee Childress (Dallas, TX)
Assignee(s): SMITH NEPHEW, INC. (Memphis, TN)
Law Firm: Knobbe, Martens, Olson Bear LLP (9 non-local offices)
Application No., Date, Speed: 14210062 on 03/13/2014 (1258 days app to issue)
Abstract: Embodiments of a reduced pressure system and methods for operating the system are disclosed. In some embodiments, the system can include one or more processors responsible for various functions associated with various levels of responsiveness, such as interfacing with a user, controlling a vacuum pump, providing network connectivity, etc. The system can present GUI screens for controlling and monitoring its operation. The system can be configured to determine and monitor flow of fluid in the system by utilizing one or more of the following: monitoring the speed of a pump motor, monitoring flow of fluid in a portion of a fluid flow path by using a calibrated fluid flow restrictor, and monitoring one or more characteristics of the pressure pulses. The system can be configured to provide external connectivity for accomplishing various activities, such as location tracking of the system, compliance monitoring, tracking of operational data, remote selection and adjustment of therapy settings, etc.
[A61M] DEVICES FOR INTRODUCING MEDIA INTO, OR ONTO, THE BODY (introducing media into or onto the bodies of animals A61D 7/00; means for inserting tampons A61F 13/26; devices for administering food or medicines orally A61J; containers for collecting, storing or administering blood or medical fluids A61J 1/05); DEVICES FOR TRANSDUCING BODY MEDIA OR FOR TAKING MEDIA FROM THE BODY (surgery A61B; chemical aspects of surgical articles A61L; magnetotherapy using magnetic elements placed within the body A61N 2/10); DEVICES FOR PRODUCING OR ENDING SLEEP OR STUPOR [5]
O P E R A T I O N S & T R A N S P O R T

[Image via patent no. 9738222]
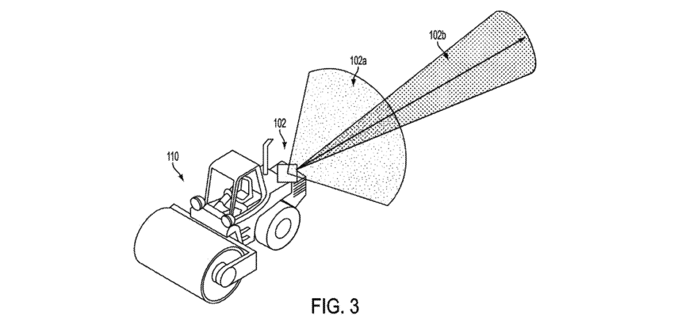
Advanced warning and risk evasion system and method
Patent No. 9738222
Inventor(s): Kent Baumann (Rockwall, TX)
Assignee(s): Oldcastle Materials, Inc. (Atlanta, GA)
Law Firm: Winstead PC (Local + 2 other metros)
Application No., Date, Speed: 15180924 on 06/13/2016 (435 days app to issue)
Abstract: This invention relates in general to the field of safety devices, and more particularly, but not by way of limitation, to systems and methods for providing advanced warning and risk evasion when hazardous conditions exist. In one embodiment, a vicinity monitoring unit is provided for monitoring, for example, oncoming traffic near a construction zone. In some embodiments, the vicinity monitoring unit may be mounted onto a construction vehicle to monitor nearby traffic and send a warning signal if hazardous conditions exist. In some embodiments, personnel tracking units may be worn by construction workers and the personnel tracking units may be in communication with the vicinity monitoring unit. In some embodiments, a base station is provided for monitoring activities taking place in or near a construction site including monitoring the locations of various personnel and vehicles within the construction site.
[B60Q] ARRANGEMENT OF SIGNALLING OR LIGHTING DEVICES, THE MOUNTING OR SUPPORTING THEREOF OR CIRCUITS THEREFOR, FOR VEHICLES IN GENERAL [4]
Apparatus and method for spooling wire
Patent No. 9738485
Inventor(s): John L. Rhoads (McKinney, TX), William T. Bigbee, Jr. (Melissa, TX)
Assignee(s): Encore Wire Corporation (McKinney, TX)
Law Firm: Warren Rhoades LLP (1 non-local offices)
Application No., Date, Speed: 14659165 on 03/16/2015 (890 days app to issue)
Abstract: A reel apparatus and method comprising an inner flange assembly, an outer flange assembly, and a bearing assembly coupled to the inner and outer flange assemblies. The inner flange assembly is capable of freely rotating relative to the outer flange assembly. In another embodiment, wire is spooled from a reel assembly comprising an inner flange assembly and an outer flange assembly.
[B65H] HANDLING THIN OR FILAMENTARY MATERIAL, e.g. SHEETS, WEBS, CABLES Patent Header: [E] FIXED CONSTRUCTIONS
F I X E D C O N S T R U C T I O N S

[Image via patent no. 9739062]
Roofing shingle system and shingles for use therein
Patent No. 9739062
Inventor(s): Olan Leitch (Bakersfield, CA)
Assignee(s): Building Materials Investment Corporation (Dallas, TX)
Law Firm: Fitzpatrick, Cella, Harper Scinto (4 non-local offices)
Application No., Date, Speed: 14576898 on 12/19/2014 (977 days app to issue)
Abstract: A laminated roofing shingle is disclosed comprising a posterior layer with tabs and an anterior layer with tabs spaced apart by openings, wherein each posterior tab is partially covered by a corresponding anterior tab, wherein at least one anterior tab has a first anterior tab breadth and at least another anterior tab has a second anterior tab breadth, and wherein at least one anterior opening has a first anterior opening breadth that is about equal to the second anterior tab breadth and wherein at least another anterior opening has a second anterior opening breadth that is about equal to the first anterior tab breadth. Also disclosed is a roofing system comprising a plurality of courses of the shingle.
[E04D] ROOF COVERINGS; SKY-LIGHTS; GUTTERS; ROOF-WORKING TOOLS (coverings of outer walls by plaster or other porous material E04F 13/00)
Electrical power storage for downhole tools
Patent No. 9739120
Inventor(s): Donald G. Kyle (Plano, TX), Michael L. Fripp (Carrollton, TX), Zachary R. Murphree (Dallas, TX)
Assignee(s): Halliburton Energy Services, Inc. (Houston, TX)
Law Firm: Locke Lord LLP (Local + 12 other metros)
Application No., Date, Speed: 13948278 on 07/23/2013 (1491 days app to issue)
Abstract: A method of activating a downhole tool can include configuring the tool having an electrical power source, an electrical load, control circuitry which controls the electrical load, and a switch which selectively permits current flow between the power source and the circuitry, and generating electricity, thereby causing the switch to permit current flow between the power source and the circuitry. A downhole tool can include an electrical power source, an electrical load, control circuitry, a switch which selectively permits current flow between the power source and the circuitry, and a generator. Another method can include displacing a fluid and/or an object at the tool, generating electricity in response to the displacing, permitting current flow between an electrical power source and a control circuitry in response to the generating and, after the permitting and in response to detection of a predetermined signal, the circuitry causing activation of an electrical load.
[E21B] EARTH OR ROCK DRILLING (mining, quarrying E21C; making shafts, driving galleries or tunnels E21D); OBTAINING OIL, GAS, WATER, SOLUBLE OR MELTABLE MATERIALS OR A SLURRY OF MINERALS FROM WELLS [5] Patent Header: [F] MECHANICAL ENGINEERING; LIGHTING; HEATING; WEAPONS; BLASTING
M E C H A N I C A L
E N G I N E E R I N G
LIGHTING | HEATING | WEAPONS | BLASTING

[Image via patent no. 9739274]
Pump system and method having a quick change motor drive
Patent No. 9739274
Inventor(s): John C. Vines (Dallas, TX), John Laessle (Plano, TX)
Assignee(s): INTEGRATED DESIGNS, L.P. (Carrollton, TX)
Law Firm: Snyder, Clark, Lesch Chung, LLP (1 non-local offices)
Application No., Date, Speed: 14202755 on 03/10/2014 (1261 days app to issue)
Abstract: A precision pump system having a motor driver for accurately and repeatedly delivering process fluid, (e.g., photo chemicals) using a pumping fluid with minimal process fluid loss to a fabrication process and whereby the motor driver can be easily and quickly replaced without interrupting the fluid flow path. This is accomplished with the use of a process fluid reservoir and a pumping fluid reservoir that are associated with the pump, either integrated with the pump or closely adjacent. In addition, this precision pump system can be remotely monitored, viewed and controlled over the Internet. In addition, trapped process fluid within a downstream filtering block can be recirculated to the process fluid reservoir when trapped gas in the filter is removed. Furthermore, a nitrogen gas source is connected to the process fluid reservoir via a valve in case a need to insert a gas is required.
[F04B] POSITIVE-DISPLACEMENT MACHINES FOR LIQUIDS; PUMPS (engine fuel-injection pumps F02M; machines for liquids, or pumps, of rotary-piston or oscillating-piston type F04C; non-positive-displacement pumps F04D; pumping of fluid by direct contact of another fluid or by using inertia of fluid to be pumped F04F; crankshafts, crossheads, connecting-rods F16C; flywheels F16F; gearings for interconverting rotary motion and reciprocating motion in general F16H; pistons, piston-rods, cylinders, in general F16J; ion pumps H01J 41/12; electrodynamic pumps H02K 44/02)
Rotor brake with integrated impeller
Patent No. 9739326
Inventor(s): Gary S. Conway (Pantego, TX)
Assignee(s): BELL HELICOPTER TEXTRON INC. (Fort Worth, TX)
Law Firm: Lightfoot Alford PLLC (1 non-local offices)
Application No., Date, Speed: 14059997 on 10/22/2013 (1400 days app to issue)
Abstract: According to one embodiment, a rotor brake includes a first braking surface having an opening therethrough, a second braking surface adjacent to the first braking surface, and an impeller disposed between the first and second braking surfaces such that rotation of the impeller pulls fluid through the opening of the first braking surface and expels the fluid out through a gap between the first and second braking surfaces.
[F16D] COUPLINGS FOR TRANSMITTING ROTATION (gearing for conveying rotation F16H, e.g. fluid gearing F16H 39/00-F16H 47/00); CLUTCHES (dynamo-electric clutches H02K 49/00; clutches using electrostatic attraction H02N 13/00); BRAKES (electrodynamic brake systems for vehicles in general B60L 7/00; dynamo-electric brakes H02K 49/00) [2]
Mechanically retained valve seat
Patent No. 9739381
Inventor(s): Daniel Coestesquis (Chartres, , FR), Daniel G. Roper (Lucas, TX), Harold J. Mckinney (Durant, OK), Michel Bouvry (Champhol, , FR)
Assignee(s): EMERSON PROCESS MANAGEMENT REGULATOR TECHNOLOGIES, INC. (McKinney, TX)
Law Firm: Marshall, Gerstein Borun LLP (2 non-local offices)
Application No., Date, Speed: 14530194 on 10/31/2014 (1026 days app to issue)
Abstract: A sealing disk mounting assembly for a regulator includes a mounting member adapted to be operatively attached to a tubular member of a control member assembly of a regulator, a disk holder operatively attached to the mounting member, and an annular sealing disk disposed in an annular channel that is formed between the mounting member and the disk holder. The annular sealing disk is mechanically retained between the mounting member and the disk holder by compressive forces.
[F16K] VALVES; TAPS; COCKS; ACTUATING-FLOATS; DEVICES FOR VENTING OR AERATING
Noise attenuation apparatus for fluid devices
Patent No. 9739408
Inventor(s): Joshua Logan Tecson (Bedford, TX), Juan Manuel Diaz (Melissa, TX), Tung K. Nguyen (McKinney, TX)
Assignee(s): EMERSON PROCESS MANAGEMENT REGULATOR TECHNOLOGIES, INC. (McKinney, TX)
Law Firm: Hanley, Flight Zimmerman, LLC (1 non-local offices)
Application No., Date, Speed: 14997052 on 01/15/2016 (585 days app to issue)
Abstract: Noise attenuation apparatus for fluid devices are disclosed herein. A noise attenuation apparatus includes a first plate having a plurality of first openings to reduce noise generated by a fluid flowing through a fluid device and a second plate having a plurality of second openings to reduce noise generated by the fluid. The second plate directly engages the first plate, and the first openings to at least partially align with the second openings when the first plate is in direct engagement with the second plate to define a flow passageway of the noise attenuation apparatus.
[F16L] PIPES; JOINTS OR FITTINGS FOR PIPES; SUPPORTS FOR PIPES, CABLES OR PROTECTIVE TUBING; MEANS FOR THERMAL INSULATION IN GENERAL
Venturi nozzle for a gas combustor
Patent No. 9739481
Inventor(s): David W. Scott (Rockwall, TX)
Assignee(s): FLAME COMMANDER CORP. (Lindale, TX)
Law Firm: Chalker Flores, LLP (Local)
Application No., Date, Speed: 15210997 on 07/15/2016 (403 days app to issue)
Abstract: A venturi nozzle for a gas combustor includes an orificed gas nozzle, a venturi tube and one or more support members. The orificed gas nozzle has a longitudinal axis, an inlet and an outlet. The venturi tube is aligned with the longitudinal axis and has an entrance proximate to the outlet of the orificed gas nozzle and an exit. The support member(s) are attached between the orificed gas nozzle and the venturi tube to create a gap between the venturi tube and the orificed gas nozzle. In some embodiments, two or more venturi nozzles can be combined together in various configurations into a nozzle assembly or multi-nozzle gas combustor and attached, mounted or disposed within a stack, chimney or vented enclosure. The wall(s) of the stack, chimney or vented enclosure may include one or more openings, cut outs or vents to provide primary and secondary air to the venturi nozzles.
[F23D] BURNERS
Valve assembly calibration
Patent No. 9739682
Inventor(s): Justin Scott Shriver (Newton, MA), Larry Gene Schoonover (Falmouth, MA)
Assignee(s): Dresser, Inc. (Addison, TX)
Law Firm: Paul Frank + Collins P.C. (1 non-local offices)
Application No., Date, Speed: 14703494 on 05/04/2015 (841 days app to issue)
Abstract: A method for correcting calibration of a closure member on a valve assembly. The method can include comparing a calculated value to an expected value, each relating to a position of a closure member of the valve assembly relative to a seat of the valve assembly, the calculated value being calculated using a calibration variable and an input value corresponding to a measured position of the closure member. The method can also include identifying a deviation between the calculated value and the expected value. The method can further include changing the calibration variable from a first value to a second value in response to the deviation, the second value equating the calculated value at the input value with the expected value for the position.
[F16K] VALVES; TAPS; COCKS; ACTUATING-FLOATS; DEVICES FOR VENTING OR AERATING Patent Header: [G] PHYSICS
P H Y S I C S

[Image via patent no. 9739618]
Multiple location electronic device communication
Patent No. 9739618
Inventor(s): Michael Crowe (Colleyville, TX)
Assignee(s): Visteon Global Technologies, Inc. (Van Buren Township, MI)
Law Firm: Foley Lardner LLP (13 non-local offices)
Application No., Date, Speed: 13018405 on 01/31/2011 (2395 days app to issue)
Abstract: An in-vehicle control system for communicating data between at least one of an office control system and a residential control system including a transceiver configured to be in communication with the office control system and the residential control system. The in-vehicle control system further including a memory device in communication with the transceiver. The memory device is configured to store a data file transmitted and/or received from the office control system and the residential control system.
[G06Q] DATA PROCESSING SYSTEMS OR METHODS, SPECIALLY ADAPTED FOR ADMINISTRATIVE, COMMERCIAL, FINANCIAL, MANAGERIAL, SUPERVISORY OR FORECASTING PURPOSES; SYSTEMS OR METHODS SPECIALLY ADAPTED FOR ADMINISTRATIVE, COMMERCIAL, FINANCIAL, MANAGERIAL, SUPERVISORY OR FORECASTING PURPOSES, NOT OTHERWISE PROVIDED FOR [2006.01]
Method and system for user equipment location determination on a wireless transmission system
Patent No. 9739869
Inventor(s): Geng Wu (Plano, TX), Jun Li (Richardson, TX), Neng Wang (Plano, TX), Yuqiang Tang (Plano, TX)
Assignee(s): Apple Inc. (Cupertino, CA)
Law Firm: Meyertons, Hood, Kivlin, Kowert Goetzel, P.C. (2 non-local offices)
Application No., Date, Speed: 15241601 on 08/19/2016 (368 days app to issue)
Abstract: Neighbor cell hearability can be improved by including an additional reference signal that can be detected at a low sensitivity and a low signal-to-noise ratio, by introducing non-unity frequency reuse for the signals used for a time difference of arrival (TDOA) measurement, e.g., orthogonality of signals transmitted from the serving cell sites and the various neighbor cell sites. The new reference signal, called the TDOA-RS, is proposed to improve the hearability of neighbor cells in a cellular network that deploys 3GPP EUTRAN (LTE) system, and the TDOA-RS can be transmitted in any resource blocks (RB) for PDSCH and/or MBSFN subframe, regardless of whether the latter is on a carrier supporting both PMCH and PDSCH or not. Besides the additional TDOA-RS reference signal, an additional synchronization signal (TDOA-sync) may also be included to improve the hearability of neighbor cells.
[G01S] RADIO DIRECTION-FINDING; RADIO NAVIGATION; DETERMINING DISTANCE OR VELOCITY BY USE OF RADIO WAVES; LOCATING OR PRESENCE-DETECTING BY USE OF THE REFLECTION OR RERADIATION OF RADIO WAVES; ANALOGOUS ARRANGEMENTS USING OTHER WAVES
Lanthanum-yttrium oxide scintillators and use thereof
Patent No. 9739897
Inventor(s): Wei Chen (Arlington, TX)
Assignee(s): Board of Regents, the University of Texas System (Austin, TX)
Law Firm: FisherBroyles, LLP (13 non-local offices)
Application No., Date, Speed: 14907601 on 07/29/2014 (1120 days app to issue)
Abstract: The disclosure relates to lanthanum-yttrium oxide scintillators used for detecting radiation, such as X-rays, gamma rays and thermal neutron radiation and charged particles, in security, medical imaging, particle physics and other applications.
[G01T] MEASUREMENT OF NUCLEAR OR X-RADIATION (radiation analysis of materials, mass spectrometry G01N 23/00; tubes for determining the presence, intensity, density or energy of radiation or particles H01J 47/00)
Method and system for augmenting frequency range of conventional marine seismic source with low-frequency
Patent No. 9739900
Inventor(s): John Sallas (Plano, TX)
Assignee(s): CGG SERVICES SAS (Massy, , FR)
Law Firm: Patent Portfolio Builders PLLC (4 non-local offices)
Application No., Date, Speed: 14164626 on 01/27/2014 (1303 days app to issue)
Abstract: A resonant source element is configured to generate seismic waves in water. The resonant source element includes a housing having two openings covered by first and second pistons, wherein the first and second pistons are configured to freely translate relative to the housing to generate the seismic waves; and a high-pressure system configured to discharge inside the housing and to actuate the first and second pistons. The first and second pistons are configured to oscillate after the high-pressure system is fired to generate low-frequency seismic waves.
[G01V] GEOPHYSICS; GRAVITATIONAL MEASUREMENTS; DETECTING MASSES OR OBJECTS; TAGS (means for indicating the location of accidentally buried, e.g. snow-buried, persons A63B 29/02) [6]
Enhanced organic electro-optic poling through nanoparticle doping
Patent No. 9740082
Inventor(s): Benjamin R. Lund (Wylie, TX), Naixin Yang (Richardson, TX), Samsuddin Faisal Mahmood (Dallas, TX)
Assignee(s): BOARD OF REGENTS, THE UNIVERSITY OF TEXAS SYSTEM (Austin, TX)
Law Firm: Yee Associates, P.C. (Local)
Application No., Date, Speed: 15044109 on 02/16/2016 (553 days app to issue)
Abstract: A method of poling an organic polymeric electro-optic material. The method includes doping the organic polymeric electro-optic material with nanoparticles. The method also includes heating the organic polymeric electro-optic material to a poling temperature. The method also includes poling the organic polymeric electro-optic material by applying an electric field across the organic polymeric electro-optic material.
[G02F] DEVICES OR ARRANGEMENTS, THE OPTICAL OPERATION OF WHICH IS MODIFIED BY CHANGING THE OPTICAL PROPERTIES OF THE MEDIUM OF THE DEVICES OR ARRANGEMENTS FOR THE CONTROL OF THE INTENSITY, COLOUR, PHASE, POLARISATION OR DIRECTION OF LIGHT, e.g. SWITCHING, GATING, MODULATING OR DEMODULATING; TECHNIQUES OR PROCEDURES FOR THE OPERATION THEREOF; FREQUENCY-CHANGING; NON-LINEAR OPTICS; OPTICAL LOGIC ELEMENTS; OPTICAL ANALOGUE/DIGITAL CONVERTERS [4]
Dynamic biasing for regulator circuits
Patent No. 9740224
Inventor(s): Amer Atrash (Plano, TX), Brett Smith (McKinney, TX), Ross E. Teggatz (McKinney, TX)
Assignee(s): TRIUNE IP LLC (Plano, TX)
Law Firm: Jackson Walker LLP (Local + 3 other metros)
Application No., Date, Speed: 14855286 on 09/15/2015 (707 days app to issue)
Abstract: The disclosed invention provides apparatus and methods for dynamic biasing in electronic systems and circuits. The apparatus and methods disclosed provide non-linear biasing responsive to monitored load conditions.
[G05F] SYSTEMS FOR REGULATING ELECTRIC OR MAGNETIC VARIABLES (regulating the timing or recurrence frequency of pulses in radar or radio navigation systems G01S; regulation of current or voltage, specially adapted for use in electronic time-pieces G04G 19/02; closed-loop systems for regulating non-electric variables by electric means G05D; regulating power supply of digital computers G06F 1/26; for obtaining desired operating characteristics of electromagnets with armatures H01F 7/18; regulating electric power distribution networks H02J; regulating the charging of batteries H02J 7/00; regulating of the output of static converters, e.g. switching regulators, H02M; regulation of the output of electric generators H02N, H02P 9/00; controlling transformers, reactors or choke coils H02P 13/00; regulating frequency response, gain, maximum output, amplitude or bandwidth of amplifiers H03G; regulating tuning of resonant circuits H03J; controlling generators of electronic oscillations or pulses H03L; regulating characteristics of transmission lines H04B; controlling electric light sources H05B 37/02, H05B 39/04, H05B 41/36; electric control of X-ray apparatus H05G 1/30) [5]
Tag-based wear leveling for a data storage device
Patent No. 9740425
Inventor(s): Alexei Naberezhnov (San Jose, CA), Nian Niles Yang (Mountain View, CA), Swati Bakshi (Dublin, CA), Xinde Hu (San Diego, CA)
Assignee(s): SanDisk Technologies LLC (Plano, TX)
Law Firm: Toler Law Group, PC (1 non-local offices)
Application No., Date, Speed: 14572693 on 12/16/2014 (980 days app to issue)
Abstract: A data storage device includes a memory. A method includes de-allocating a first region of a group of regions of the memory during a wear leveling process based on a determination that the first region is associated with a first tag of a set of tags. Each region of the group of regions is assigned to a tag of the set of tags based on a health metric associated with the region. The health metric is based on a bit error rate (BER), a program/erase cycle (PEC) count, a PEC condition metric, or a combination thereof. In response to selecting the first region, information is copied from the first region to a second region of the memory during the wear leveling process.
[G06F] ELECTRIC DIGITAL DATA PROCESSING (computer systems based on specific computational models G06N)
System and method for real time virtualization
Patent No. 9740513
Inventor(s): Alan Gatherer (Richardson, TX), Anthony C. K. Soong (Plano, TX), Debashis Bhattacharya (Plano, TX)
Assignee(s): FUTUREWEI TECHNOLOGIES, INC. (Plano, TX)
Law Firm: Futurewei Technologies, Inc. (2 non-local offices)
Application No., Date, Speed: 14730929 on 06/04/2015 (810 days app to issue)
Abstract: A system includes a plurality of compute modules and a first processor configured to implement a virtualization layer, where the virtualization layer is configured to support real time jobs. The system also includes a hardware support layer coupled between the plurality of compute modules and the virtualization layer, where the hardware support layer is configured to provide an interface between the virtualization layer and the plurality of compute modules.
[G06F] ELECTRIC DIGITAL DATA PROCESSING (computer systems based on specific computational models G06N)
Information handling system and computer program product for deducing entity relationships across corpora using cluster based dictionary vocabulary lexicon
Patent No. 9740771
Inventor(s): Swaminathan Chandrasekaran (Coppell, TX)
Assignee(s): International Business Machines Corporation (Armonk, NY)
Law Firm: Terrile, Cannatti, Chambers Holland, LLP (1 non-local offices)
Application No., Date, Speed: 14498259 on 09/26/2014 (1061 days app to issue)
Abstract: An approach is provided for identifying entity relationships based on word classifications extracted from business documents stored in a plurality of corpora. In the approach, performed by an information handling system, a plurality of cluster classifications are identified for the business documents so that entity information from the business documents can be classified or assigned to the cluster classifications, such as by performing natural language processing (NLP) analysis of the business documents. The approach applies semantic analysis to identify and score entity relationships between the entity information classified in the cluster classifications, and based on the scored entity relationships, cluster relationships between the cluster classifications are identified.
[G06F] ELECTRIC DIGITAL DATA PROCESSING (computer systems based on specific computational models G06N)
Method for determining risk of diabetes
Patent No. 9740819
Inventor(s): Edward J. Moler, Jr. (Walnut Creek, CA), Michael P. McKenna (Branford, CT), Michael Rowe (Oakland, CA), Robert W. Gerwien (Newington, CT)
Assignee(s): TRUE HEALTH IP LLC (Frisco, TX)
Law Firm: Perkins Coie LLP (17 non-local offices)
Application No., Date, Speed: 13504478 on 10/28/2010 (2490 days app to issue)
Abstract: A method of determining risk of diabetes is provided. In one embodiment, the method comprises: a) measuring the levels of a plurality of biomarkers in a blood samples obtained from a patient, wherein the plurality of biomarkers comprises at least five of the following biomarkers: glucose, adiponectin, CRP, IL2RA, ferritin, insulin and HbAIc; b) calculating a diabetes risk score for the patients using the levels and, optionally, patient age and/or gender. Results obtained from performing the assay on a reference population are similar or identical to those obtained using Formula I.
[G01N] INVESTIGATING OR ANALYSING MATERIALS BY DETERMINING THEIR CHEMICAL OR PHYSICAL PROPERTIES (measuring or testing processes other than immunoassay, involving enzymes or microorganisms C12M, C12Q)
Device, system, and method of preventing unauthorized recording of visual content displayed on an electronic device
Patent No. 9740860
Inventor(s): Tailim Song (Dallas, TX)
Assignee(s): Kairos Social Solutions, Inc. (Dallas, TX)
Law Firm: Sul Lee PLLC (Local + 3 other metros)
Application No., Date, Speed: 14632595 on 02/26/2015 (908 days app to issue)
Abstract: The present disclosure involves preventing unauthorized recording of visual content displayed on an electronic device. Via a mobile computing device, it is detected that a user is attempting to digitally record visual content being displayed on a screen of the mobile computing device. Via the mobile computing device, at least one of the following actions is performed in response to the detecting: obfuscating the visual content; restarting the mobile computing device before the visual content is recorded; playing a loud audio signal via the mobile computing device before the visual content is recorded; and temporarily disabling a screenshot function of the mobile computing device.
[G06F] ELECTRIC DIGITAL DATA PROCESSING (computer systems based on specific computational models G06N)
Securely passing user authentication data between a pre-boot authentication environment and an operating system
Patent No. 9740867
Inventor(s): Christohper D. Burchett (Lewisville, TX)
Assignee(s): Dell Products, L.P. (Round Rock, TX)
Law Firm: Fogarty LLP (3 non-local offices)
Application No., Date, Speed: 14942840 on 11/16/2015 (645 days app to issue)
Abstract: Systems and methods for securely passing user authentication data between a Pre-Boot Authentication (PBA) environment and an Operating System (OS) are described. In some embodiments, an Information Handling System (IHS) may include a processor; and a Basic I/O System (BIOS) coupled to the processor, the BIOS having program instructions stored thereon that, upon execution by the processor, cause the computer system to: identify an encrypted Single-Sign-On (SSO) token and a Trusted Platform Module (TPM) key pair provisioned by an Operating System (OS) and stored in an OS registry; extract a TPM public key from the TPM key pair; encrypt a PBA private key generated by a PBA application with the TPM public key; and store the encrypted PBA private key, the TPM key pair, and the encrypted SSO token in a shadow partition of a self-encrypting hard drive coupled to the IHS.
[G06F] ELECTRIC DIGITAL DATA PROCESSING (computer systems based on specific computational models G06N)
Service design and order fulfillment system with fulfillment solution blueprint
Patent No. 9741046
Inventor(s): Paul Hugh Wilkie Bishop (Dallas, TX), Todd Spraggins (Dallas, TX)
Assignee(s): Oracle International Corporation (Redwood Shores, CA)
Law Firm: Miles Stockbridge PC (3 non-local offices)
Application No., Date, Speed: 13936567 on 07/08/2013 (1506 days app to issue)
Abstract: A system that provides a fulfillment solution blueprint is provided. The system defines order layers for the fulfillment solution blueprint. The system further defines provider functions for the fulfillment solution blueprint. The system further assigns each provider function to an order layer. The system further defines interface contracts for the fulfillment solution blueprint. The system further assigns each interface contract to a provider function.
[G06Q] DATA PROCESSING SYSTEMS OR METHODS, SPECIALLY ADAPTED FOR ADMINISTRATIVE, COMMERCIAL, FINANCIAL, MANAGERIAL, SUPERVISORY OR FORECASTING PURPOSES; SYSTEMS OR METHODS SPECIALLY ADAPTED FOR ADMINISTRATIVE, COMMERCIAL, FINANCIAL, MANAGERIAL, SUPERVISORY OR FORECASTING PURPOSES, NOT OTHERWISE PROVIDED FOR [2006.01]
Systems and methods for facilitating closing of a check
Patent No. 9741083
Inventor(s): James A. Cloin (Arlington, TX), James Lee Fortuna (Dallas, TX)
Assignee(s): NCR Corporation (Duluth, GA)
Law Firm: Schwegman, Lundberg Woessner (6 non-local offices)
Application No., Date, Speed: 14206708 on 03/12/2014 (1259 days app to issue)
Abstract: Various methods are described for facilitating closing and payment of a check. One example method may comprise performing an action with a mobile device proximate a physical location associated with the check. The method may further comprise receiving in response a location identifier associated with the physical location. Additionally, the method may comprise determining the check to be closed based at least in part on the location identifier. Another example method may comprise performing an action with a mobile device proximate a folio device. The method may further comprise receiving in response a folio device identifier associated with the folio device. Additionally, the method may comprise providing for transmission of the check information to the folio device based at least in part on the folio device identifier. Similar and related methods, apparatuses, and computer program products are also provided.
[G06Q] DATA PROCESSING SYSTEMS OR METHODS, SPECIALLY ADAPTED FOR ADMINISTRATIVE, COMMERCIAL, FINANCIAL, MANAGERIAL, SUPERVISORY OR FORECASTING PURPOSES; SYSTEMS OR METHODS SPECIALLY ADAPTED FOR ADMINISTRATIVE, COMMERCIAL, FINANCIAL, MANAGERIAL, SUPERVISORY OR FORECASTING PURPOSES, NOT OTHERWISE PROVIDED FOR [2006.01]
Method for electronic zoom with sub-pixel offset
Patent No. 9741095
Inventor(s): Christopher J. Baker (McKinney, TX), Mark Gohlke (McKinney, TX), Trent A. Jacobs (McKinney, TX)
Assignee(s): RAYTHEON COMPANY (Waltham, MA)
Law Firm: Lewis Roca Rothgerber Christie LLP (5 non-local offices)
Application No., Date, Speed: 14167708 on 01/29/2014 (1301 days app to issue)
Abstract: A system and method for interpolating between pixels of an image for providing zoom and pan features. A piecewise cubic spline is used to find the values of each of four provisional interpolation points in each of four rows of an image and, similarly, a piecewise cubic spline is used to interpolate between the provisional interpolation points to find the value of a point in the output image. Boundary conditions used to constrain the coefficients of the piecewise cubic spline provide enhanced quality in the output image.
[G06T] IMAGE DATA PROCESSING OR GENERATION, IN GENERAL [2006.01]
Fare collection system in a public transit network
Patent No. 9741178
Inventor(s): John C. Handley (Fairport, NY)
Assignee(s): Conduent Business Services, LLC (Dallas, TX)
Law Firm: Fox Rothschild LLP (12 non-local offices)
Application No., Date, Speed: 15378182 on 12/14/2016 (251 days app to issue)
Abstract: A system in a public transit network may include a fare collection system, a fare management system, and a processing device for assessing the riskiness of fare classes in the transit network and causing the fare management system to take an action based on the assessment. Particularly, the processing device will receive fare information from the fare collection system, such as via a token reader, determine a fare return series over a period of time, apply a Capital Asset Pricing Model to the fare return series and assess the return versus volatility chart for multiple fare classes. Based on the assessment, the processing device will cause the fare management system to take an action such as changing a fare price or a route, deleting a fare class or a route, combining one or more fare classes or routes, or combining one or more fare classes with one or more routes.
[G07B] TICKET-ISSUING APPARATUS; TAXIMETERS; ARRANGEMENTS OR APPARATUS FOR COLLECTING FARES, TOLLS OR ENTRANCE FEES AT ONE OR MORE CONTROL POINTS; FRANKING APPARATUS
Systems and methods for facilitating coin hopper maintenance
Patent No. 9741195
Inventor(s): Doug Powers (Keller, TX), Flynt Moreland (Plano, TX), Monte Needham (Argyle, TX), Troy Richard (Plano, TX)
Assignee(s): TIDEL ENGINEERING, L.P. (Chicago, IL)
Law Firm: Polsinelli PC (Local + 14 other metros)
Application No., Date, Speed: 14842620 on 09/01/2015 (721 days app to issue)
Abstract: Implementations described and claimed herein involve systems and methods for facilitating coin hopper maintenance. In one implementation, a top plate is received in a bucket assembly of the coin hopper at a proximal end. The top plate seals one or more coins in an interior of the bucket assembly. The coin hopper is positioned in an inverted orientation by meeting a target surface with the top plate. The inverted orientation positions the bucket assembly at a distal end near the target surface and a base assembly at the proximal end. A hopper dispenser is disengaged from the base assembly of the coin hopper.
[G07D] HANDLING OF COINS OR OF PAPER CURRENCY OR SIMILAR VALUABLE PAPERS, e.g. TESTING, SORTING BY DENOMINATIONS, COUNTING, DISPENSING, CHANGING OR DEPOSITING [2]
Memory devices based on gate controlled ferromagnestism and spin-polarized current injection
Patent No. 9741416
Inventor(s): Christopher L. Hinkle (Richardson, TX), Massimo V. Fischetti (Richardson, TX)
Assignee(s): Board of Regents, the University of Texas System (Austin, TX)
Law Firm: Talem IP Law, LLP (1 non-local offices)
Application No., Date, Speed: 15263199 on 09/12/2016 (344 days app to issue)
Abstract: Memory devices based on gate controlled ferromagnetism and spin-polarized current injection are provided. The device structure can include a two dimensional (2D) topological insulator (TI) having an active area body. One or a pair of ferromagnetic storage units are provided on top of the 2D TI with a dielectric and a gate thereon. A first contact can be at one end of the 2D TI and a second contact can be at the other end of the 2D TI, with the one or pair of ferromagnetic storage units on the 2D TI between the two contacts to facilitate 2D TI transport along a one-dimensional edge of the first and/or second lateral side. Application of biases via the gate and the first and second contacts enable read and write operations.
[G11C] STATIC STORES (information storage based on relative movement between record carrier and transducer G11B; semiconductor devices for storage H01L, e.g. H01L 27/108-H01L 27/11597; pulse technique in general H03K, e.g. electronic switches H03K 17/00)
System and method of reading data from memory concurrently with sending write data to the memory
Patent No. 9741442
Inventor(s): Abdulla Pichen (Bangalore, , IN)
Assignee(s): SanDisk Technologies LLC (Plano, TX)
Law Firm: Toler Law Group, PC (1 non-local offices)
Application No., Date, Speed: 13875477 on 05/02/2013 (1573 days app to issue)
Abstract: A data storage device includes a memory, a controller, and a communication bus coupled to the memory and to the controller. The controller is configured to send a read-write command and write data to the memory via the communication bus. The read-write command indicates an address of requested data to be read from the memory. The controller is further configured to receive the requested data read from the memory. Communicating the requested data over the communication bus overlaps the write data being stored into the memory.
[G06F] ELECTRIC DIGITAL DATA PROCESSING (computer systems based on specific computational models G06N)
Proxy wordline stress for read disturb detection
Patent No. 9741444
Inventor(s): Chris Avila (Milpitas, CA), Deepak Raghu (Milpitas, CA), Gautam Dusija (Milpitas, CA), Harish Singidi (Milpitas, CA), Pao-Ling Koh (Milpitas, CA), Philip Reusswig (Milpitas, CA)
Assignee(s): SanDisk Technologies LLC (Plano, TX)
Law Firm: Brinks Gilson Lione (7 non-local offices)
Application No., Date, Speed: 15483169 on 04/10/2017 (134 days app to issue)
Abstract: Methods and systems are provided where non-volatile solid state memory may include selected memory cells coupled to a selected word line and proxy memory cells coupled to a proxy word line. The selected memory cells may be non-adjacent to the proxy memory cells and be selected for a read operation. A read proxy voltage may be applied to the proxy word line when data is read from the selected memory cells. A read disturb may be determined based on a difference between a predetermined value stored in the proxy memory cells and a value read from the proxy memory cells.
[G11C] STATIC STORES (information storage based on relative movement between record carrier and transducer G11B; semiconductor devices for storage H01L, e.g. H01L 27/108-H01L 27/11597; pulse technique in general H03K, e.g. electronic switches H03K 17/00)
System and method for sharing unsupported document types between communication devices
Patent No. 9742846
Inventor(s): Satish Gundabathula (Irving, TX), Sivakumar Chaturvedi (Allen, TX)
Assignee(s): Damaka, Inc. (Richardson, TX)
Law Firm: Munck Wilson Mandala, LLP (Local + 1 other metros)
Application No., Date, Speed: 15166437 on 05/27/2016 (452 days app to issue)
Abstract: An improved system and method for sharing a document between two communication devices that do not have an application that can display the document. In one example, the document is sent by the communication device that is sharing the document to a document server for processing into pages of one or more different document types, and both communication devices retrieve the stored pages as needed for display. The sharing communication device updates the other communication device when a new page is to be retrieved from the document server.
[G06F] ELECTRIC DIGITAL DATA PROCESSING (computer systems based on specific computational models G06N)
Image processing device and image processing method
Patent No. 9743086
Inventor(s): Kazushi Sato (Kanagawa, , JP)
Assignee(s): Velos Media, LLC (Plano, TX)
Law Firm: Nixon Vanderhye P.C. (2 non-local offices)
Application No., Date, Speed: 14868916 on 09/29/2015 (693 days app to issue)
Abstract: Provided is an image processing device including a selection section configured to select, from a plurality of transform units with different sizes, a transform unit used for inverse orthogonal transformation of image data to be decoded, a generation section configured to generate, from a first quantization matrix corresponding to a transform unit for a first size, a second quantization matrix corresponding to a transform unit for a second size from a first quantization matrix corresponding to a transform unit for a first size, and an inverse quantization section configured to inversely quantize transform coefficient data for the image data using the second quantization matrix generated by the generation section when the selection section selects the transform unit for the second size.
[G06K] RECOGNITION OF DATA; PRESENTATION OF DATA; RECORD CARRIERS; HANDLING RECORD CARRIERS (printing per se B41J) Patent Header: [H] ELECTRICITY
E L E C T R I C I T Y

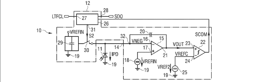
[Image via patent no.9739659]
Optical sensor arrangement and method for light sensing
Patent No. 9739659
Inventor(s): Gonggui Xu (Plano, TX)
Assignee(s): AMS AG (Unterpremstaetten, , AT)
Law Firm: McDermott Will Emery LLP (11 non-local offices)
Application No., Date, Speed: 14515376 on 10/15/2014 (1042 days app to issue)
Abstract: An optical sensor arrangement ([b]10[/b]) comprises a photodiode ([b]11[/b]) for providing a sensor current (IPD) and an analog-to-digital converter arrangement ([b]12[/b]) which is coupled to the photodiode ([b]11[/b]) and determines a digital value of the sensor current (IPD) in a charge balancing operation in a first phase (A) and in another conversion operation in a second phase (B).
[H01J] ELECTRIC DISCHARGE TUBES OR DISCHARGE LAMPS (spark-gaps H01T; arc lamps with consumable electrodes H05B; particle accelerators H05H)
Automated processing method for bus crossing enforcement
Patent No. 9741249
Inventor(s): Aaron M. Burry (Ontario, NY), Raja Bala (Pittsford, NY), Zhigang Fan (Webster, NY)
Assignee(s): CONDUENT BUSINESS SERVICES, LLC (Dallas, TX)
Law Firm: Fay Sharpe LLP (1 non-local offices)
Application No., Date, Speed: 13210447 on 08/16/2011 (2198 days app to issue)
Abstract: As set forth herein, systems and methods are described that facilitate to analyze a video stream from a camera mounted on the side of a school bus, wherein a sub-set of video sequences showing cars illegally passing the stopped school bus are automatically identified through image and/or video processing. The described systems and methods provide a significant savings in terms of the amount of manual review that is required to identify such violations. The video sequences also can be analyzed further to additionally produce images of the license plate (for identification of the violator), thereby providing further reduction in required human processing and review time. In one embodiment, automatic license plate recognition (ALPR) is employed to identify text on the violator”s license plate, as well as the state by which the license plate was issued, without requiring human review of the license plate image.
[H04N] PICTORIAL COMMUNICATION, e.g. TELEVISION [4]
Controlling memory cell size in three dimensional nonvolatile memory
Patent No. 9741768
Inventor(s): Ashot Melik-Martirosian (San Jose, CA), Juan Saenz (Menlo Park, CA)
Assignee(s): SANDISK TECHNOLOGIES LLC (Plano, TX)
Law Firm: Vierra Magen Marcus LLP (1 non-local offices)
Application No., Date, Speed: 15087980 on 03/31/2016 (509 days app to issue)
Abstract: A method is provided that includes forming a vertical bit line disposed in a first direction above a substrate, forming a multi-layer word line disposed in a second direction above the substrate, the second direction perpendicular to the first direction, and forming a memory cell including a nonvolatile memory material at an intersection of the vertical bit line and the multi-layer word line. The multi-layer word line includes a first conductive material layer and a second conductive material layer disposed above the first conductive material layer. The memory cell includes a working cell area encompassed by an intersection of the first conductive material layer and the nonvolatile memory material.
[H01L] SEMICONDUCTOR DEVICES; ELECTRIC SOLID STATE DEVICES NOT OTHERWISE PROVIDED FOR (use of semiconductor devices for measuring G01; resistors in general H01C; magnets, inductors, transformers H01F; capacitors in general H01G; electrolytic devices H01G 9/00; batteries, accumulators H01M; waveguides, resonators, or lines of the waveguide type H01P; line connectors, current collectors H01R; stimulated-emission devices H01S; electromechanical resonators H03H; loudspeakers, microphones, gramophone pick-ups or like acoustic electromechanical transducers H04R; electric light sources in general H05B; printed circuits, hybrid circuits, casings or constructional details of electrical apparatus, manufacture of assemblages of electrical components H05K; use of semiconductor devices in circuits having a particular application, see the subclass for the application) [2]
Communications jack having a flexible printed circuit board with conductive paths on two opposite sides of the board with the paths inductively and capacitively coupled
Patent No. 9742117
Inventor(s): Amid I. Hashim (Plano, TX), Brian J. Fitzpatrick (McKinney, TX), Wayne D. Larsen (Wylie, TX)
Assignee(s): CommScope, Inc. of North Carolina (Hickory, NC)
Law Firm: Myers Bigel, P.A. (1 non-local offices)
Application No., Date, Speed: 15095406 on 04/11/2016 (498 days app to issue)
Abstract: Communications jacks include a housing having a plug aperture that is configured to receive a mating RJ-45 plug along a longitudinal axis and eight jackwire contacts that are arranged as four differential pairs of jackwire contacts, each of the jackwire contacts including a plug contact region that extends into the plug aperture. A first of the jackwire contacts is configured to engage a longitudinally extending surface of a first blade of a mating RJ-45 plug when the mating RJ-45 plug is fully received within the plug aperture.
[H01R] ELECTRICALLY-CONDUCTIVE CONNECTIONS; STRUCTURAL ASSOCIATIONS OF A PLURALITY OF MUTUALLY-INSULATED ELECTRICAL CONNECTING ELEMENTS; COUPLING DEVICES; CURRENT COLLECTORS (switches, fuses H01H; coupling devices of the waveguide type H01P 5/00; switching arrangements for the supply or distribution of electric power H02B; installations of electric cables or lines, or of combined optical and electric cables or lines, or of auxiliary apparatus H02G; printed means for providing electric connections to or between printed circuits H05K)
Channel-state information determination in wireless networks
Patent No. 9742480
Inventor(s): Sairamesh Nammi (Bedminster, NJ), Xiao-Feng Qi (Westfield, NJ)
Assignee(s): Futurewei Technologies, Inc. (Plano, TX)
Law Firm: Schwegman Lundberg Woessner, P.A. (9 non-local offices)
Application No., Date, Speed: 15164373 on 05/25/2016 (454 days app to issue)
Abstract: A method for channel-state information determination in a wireless network comprises determining an initial channel-state information for a wireless channel based on a search of a plurality of sets of precoding codebook elements stored in a multiple input multiple output user equipment (UE) and determining a subsequent channel-state information based on the initial channel-state information.
[H04B] TRANSMISSION [4]
Method and system for control format detection in heterogeneous cellular networks
Patent No. 9742516
Inventor(s): Yi Song (Plano, TX), Yi Yu (Irving, TX), Zhijun Cai (Euless, TX)
Assignee(s): BlackBerry Limited (Waterloo, Ontario, , CA)
Law Firm: Fish Richardson P.C. (Local + 12 other metros)
Application No., Date, Speed: 13193023 on 07/28/2011 (2217 days app to issue)
Abstract: A user equipment having a first mechanism to obtain a control region size of a sub-frame of a cell, the user equipment having a processor; and a communications subsystem, wherein the processor and communications subsystem are configured to cooperate to: determine having a first mechanism to obtain a control region size of a sub-frame of the first cell, second cell, or both, whether the user equipment is within an area of the second cell; and utilize, a second mechanism to obtain a control region size of a sub-frame of the second cell while the user equipment is within the area of the second cell.
[H04W] WIRELESS COMMUNICATION NETWORKS [2009.01]
User-controlled network configuration for handling multiple classes of service
Patent No. 9742629
Inventor(s): David H. Lu (Irving, TX)
Assignee(s): ATT Intellectual Property I, L.P. (Atlanta, GA)
Law Firm: Jackson Walker L.L.P. (Local + 3 other metros)
Application No., Date, Speed: 14822634 on 08/10/2015 (743 days app to issue)
Abstract: A network configuration method includes receiving end user input indicative of a network configuration. The end user input may include: a plurality of service classes, a particular packet header field for each of the plurality of service classes, and a particular service class mixture for the plurality of service classes. The particular service class may be indicated by a particular value of the particular packet header field. The method may further include configuring an ingress router to prioritize packets sent to the end user in accordance with the network configuration and configuring an egress router to queue network packets sent from the end user in accordance with the network configuration.
[H04L] TRANSMISSION OF DIGITAL INFORMATION, e.g. TELEGRAPHIC COMMUNICATION (arrangements common to telegraphic and telephonic communication H04M) [4]
Load adaptation architecture framework for orchestrating and managing services in a cloud computing system
Patent No. 9742690
Inventor(s): Pradeep Khowash (Dallas, TX)
Assignee(s): ATT Intellectual Property I, L.P. (Atlanta, GA)
Law Firm: Hartman Citrin LLC (1 non-local offices)
Application No., Date, Speed: 14464212 on 08/20/2014 (1098 days app to issue)
Abstract: According to one aspect of the concepts and technologies disclosed herein, a cloud computing system can include a load adaptation architecture framework that performs operations for orchestrating and managing one or more services that may operate within at least one of layers 4 through 7 of the Open Systems Interconnection (”OSI”) communication model. The cloud computing system also can include a virtual resource layer. The virtual resource layer can include a virtual network function that provides, at least in part, a service. The cloud computing system also can include a hardware resource layer. The hardware resource layer can include a hardware resource that is controlled by a virtualization layer. The virtualization layer can cause the virtual network function to be instantiated on the hardware resource so that the virtual network function can be used to support the service.
[H04L] TRANSMISSION OF DIGITAL INFORMATION, e.g. TELEGRAPHIC COMMUNICATION (arrangements common to telegraphic and telephonic communication H04M) [4]
Mobile cellular network backhaul
Patent No. 9742729
Inventor(s): Dennis Niermann (Richardson, TX), Vincent Graffagnino (Rockwall, TX)
Assignee(s): Oceus Networks Inc. (Reston, VA)
Law Firm: Knobbe, Martens, Olson Bear, LLP (9 non-local offices)
Application No., Date, Speed: 14970282 on 12/15/2015 (616 days app to issue)
Abstract: A mobile cellular network (MCN) communication system can provide an independent mobile cellular network to devices within a covered area. In addition, the MCN communication system can communicate with other MCN communication systems using a wireless standard that is similar to the wireless standard used to communicate with user equipment within the covered area. In some instances, the MCN communication system can be registered as a user equipment of another MCN communication system and/or have another MCN communication system registered with it as a user equipment.
[H04L] TRANSMISSION OF DIGITAL INFORMATION, e.g. TELEGRAPHIC COMMUNICATION (arrangements common to telegraphic and telephonic communication H04M) [4]
Inbound calls to intelligent controlled-environment facility resident media and/or communications devices
Patent No. 9742910
Inventor(s): Krishna Balantrapu (Irving, TX), Luke Keiser (Frisco, TX), Scott Passe (Forney, TX)
Assignee(s): Securus Technologies, Inc. (Carrollton, TX)
Law Firm: Fogarty LLP (3 non-local offices)
Application No., Date, Speed: 15238411 on 08/16/2016 (371 days app to issue)
Abstract: Inbound call processing systems and methods for processing inbound calls to controlled-environment facility resident media and/or communications devices employ an inbound resident call server configured to host inbound calling accounts established by non-residents, receive inbound calls from the non-residents, route the inbound calls to an authenticating server, confirm that the resident device is active, and connect the inbound resident call system with the resident device if active or inform the non-resident the resident is not available if not. The inbound resident call server also connects the non-resident inbound call with the resident device if the non-resident is associated with the inbound calling account, the inbound calling account is associated with an address identifier of the resident device and the resident”s personal identification number is associated with the address identifier of the resident device, all of which may be authenticated by the authenticating server.
[H04M] TELEPHONIC COMMUNICATION (circuits for controlling other apparatus via a telephone cable and not involving telephone switching apparatus G08)
Methods, systems, and products for security services
Patent No. 9743263
Inventor(s): Robert Best (Dallas, TX)
Assignee(s): ATT INTELLECTUAL PROPERTY I, L.P. (Atlanta, GA)
Law Firm: Scott P. Zimmerman, PLLC (6 non-local offices)
Application No., Date, Speed: 15043515 on 02/13/2016 (556 days app to issue)
Abstract: Security systems are warned of earthquakes, tornadoes, and other natural disasters. When an early warning system detects a natural disaster, the early warning system alerts a central server. The early warning system alerts the central server to the natural event and its associated geographic area. The central server may then consult a database and determine the security systems operating in a vicinity of the geographic area experiencing the natural event. The central server may thus warn the security systems of the natural event. The security systems may then implement pre-programmed procedures to protect life and property during earthquakes, tornadoes, and other natural disasters.
[H04M] TELEPHONIC COMMUNICATION (circuits for controlling other apparatus via a telephone cable and not involving telephone switching apparatus G08)
Messaging devices and methods
Patent No. 9743308
Inventor(s): David Andersen (Dillon, CO), J. Roy Pottle (Wellesley, MA), Jamie Gordon Nichol (Arlington, MA), John F. Nagel (Southlake, TX), Peter C. Barnett (Mason, OH), Sangsoo Kim (Seoul, , KR)
Assignee(s): American Messaging Services, LLC (Lewisville, TX)
Law Firm: Ulmer Berne LLP (2 non-local offices)
Application No., Date, Speed: 15427157 on 02/08/2017 (195 days app to issue)
Abstract: An electronic messaging device includes a receiver configured to receive a message at one of a first operational frequency and second operational frequency. The messaging device can added to a message distribution group comprising a plurality of existing messaging devices. A test communication can be sent through a coupling to test an operation of the messaging device and confirming the addition of the messaging device to the message distribution group without communicating with the existing messaging devices.
[H04Q] SELECTING (switches, relays, selectors H01H; wireless communication networks H04W) [2009.01]
Link adaptation in grant-free multiple access systems
Patent No. 9743423
Inventor(s): Bin Liu (Plano, TX), Jian Wang (Plano, TX), Richard Stirling-Gallacher (Plano, TX)
Assignee(s): Futurewei Technologies, Inc. (Plano, TX)
Law Firm: Futurewei Technologies, Inc. (2 non-local offices)
Application No., Date, Speed: 14810119 on 07/27/2015 (757 days app to issue)
Abstract: A BS determines an amount of resource overloading for a contention transmission unit (CTU) access region associated with a grant-free uplink transmission scheme in a multiple access system. The BS determines a modulation and coding scheme (MCS) limit indicating a maximum MCS level for the CTU access region. The BS sends the MCS limit to a plurality of user equipments (UEs) associated with the first CTU access region. A UE receives from the base station the MCS limit and determines a first MCS index within the MCS limit for a first uplink transmission. The UE sends the first uplink transmission to the base station using a CTU in the CTU access region. The first uplink transmission includes user data and the first MCS index determined at the first UE.
[H04W] WIRELESS COMMUNICATION NETWORKS [2009.01]
Method and apparatus for indicating allocation of distributed communication resources
Patent No. 9743424
Inventor(s): Bong Hoe Kim (Anyang-si, , KR), Dong Youn Seo (Anyang-si, , KR), Eun Sun Kim (Anyang-si, , KR), Joon Kui Ahn (Anyang-si, , KR)
Assignee(s): Optis Cellular Technology, LLC (Plano, TX)
Law Firm: Nixon Vanderhye P.C. (2 non-local offices)
Application No., Date, Speed: 15293370 on 10/14/2016 (312 days app to issue)
Abstract: A user equipment (UE) receives downlink data using resource blocks in a wireless mobile communication system. The UE includes data processing circuitry coupled to a receiver that receives downlink control information including resource allocation information for the downlink data from a base station and to receive the downlink data mapped to physical resource blocks (PRBs) based on the downlink control information. The resource allocation information indicates virtual resource block (VRB) allocations for the user equipment. Each resource block corresponds to one time slot. A resource block pair includes a first resource block associated with a first time slot and a second resource block associated with a second time slot adjacent to the first time slot. The first and second resource blocks are allocated to the same frequency indices. A mapping relationship between VRB pairs and PRB pairs exists such that frequency consecutive VRB pairs are mapped to non-frequency consecutive PRB pairs and that each resource block pair is split so there is a frequency gap between the first and second parts of the resource block pair. The resource allocation information indicates the frequency gap size is one of a first value and a second different value.
[H04W] WIRELESS COMMUNICATION NETWORKS [2009.01]
Method for forming thin film conductors on a substrate
Patent No. 9743516
Inventor(s): Andrew E. Edd (Austin, TX), Charles C. Munson (Dallas, TX)
Assignee(s): NCC NANO, LLC (Dallas, TX)
Law Firm: Russell Ng PLLC (1 non-local offices)
Application No., Date, Speed: 13692570 on 12/03/2012 (1723 days app to issue)
Abstract: A method for forming thin film conductors is disclosed. A thin film precursor material is initially deposited onto a porous substrate. The thin film precursor material is then irradiated with a light pulse in order to transform the thin film precursor material to a thin film such that the thin film is more electrically conductive than the thin film precursor material. Finally, compressive stress is applied to the thin film and the porous substrate to further increase the thin film”s electrical conductivity.
[H01B] CABLES; CONDUCTORS; INSULATORS; SELECTION OF MATERIALS FOR THEIR CONDUCTIVE, INSULATING OR DIELECTRIC PROPERTIES (selection for magnetic properties H01F 1/00; waveguides H01P)
Patent Header: [X] Design, Plant or Reissue Patent without a classification code
<
DESIGN PATENTS
Abstracts not available

[Image via patent no. D795144]
Heavy truck outer grille bar
Patent No. D795144
Inventor(s): David Leetz (Denton, TX)
Assignee(s): PACCAR Inc (Bellevue, WA)
Law Firm: Christensen O”Connor Johnson Kindness PLLC (no location found)
Application No., Date, Speed: 29558440 on 03/17/2016 (523 days app to issue)
Abstract: No Abstract Patent Class: N/A
Vaporization and inhaler apparatus
Patent No. D795407
Inventor(s): Brent Skoda (Irving, TX)
Assignee(s): Ahkeo Ventures LLC (Mayfield, OH)
Law Firm: Foley Lardner LLP (13 non-local offices)
Application No., Date, Speed: 29591551 on 01/20/2017 (214 days app to issue)
Abstract: No Abstract Patent Class: N/A
Cosmetic container
Patent No. D795074
Inventor(s): Jenny DeMarco Staab (Frisco, TX)
Assignee(s): ary Kay Inc. (Addison, TX,)
Law Firm: Norton Rose Fulbright US LLP (Local + 11 other metros)
Application No., Date, Speed: 29537044 on08/21/2015 (732 days app to issue)
Abstract: No Abstract Patent Class: N/A
Cosmetic container
Patent No. D7950745
Inventor(s): Jenny DeMarco Staab (Frisco, TX)
Assignee(s): ary Kay Inc. (Addison, TX)
Law Firm: Norton Rose Fulbright US LLP (Local + 11 other metros)
Application No., Date, Speed: 29537050 on 08/21/2015 (732 days app to issue)
Abstract: No Abstract Patent Class: N/A

![Kairos Social Solutions, Inc. was granted patent for a device, system, and method of preventing unauthorized recording of visual content displayed on an electronic device. [Illustration: Dallas Innovates. Select drawings from USPTO patent no. 9740860]](https://s24806.pcdn.co/wp-content/uploads/2017/08/Patents082217_photos_970.jpg)











