Dallas Invents is a weekly look at U.S. patents granted with a connection to the Dallas-Fort Worth-Arlington metro area. Listings include patents granted to local assignees and/or those with a North Texas inventor. Patent activity can be an indicator of future economic growth, as well as the development of emerging markets and talent attraction. By tracking both inventors and assignees in the region, we aim to provide a broader view of the region’s inventive activity. Listings are organized by Cooperative Patent Classification (CPC).
THIS WEEK, BY THE NUMBERS
Week of Sept. 5, 2017 | Dallas-Fort Worth-Arlington (19100)
86 patents granted Ranked no. 9 in patent production out of 250 metros
NO. OF PATENTS BY CLASSIFICATION
TOP 3 LOCAL ASSIGNEES (NO. OF PATENTS)
1. SanDisk Technologies LLC, Plano (15)
2. Futurewei Technologies Inc. Plano (5)
3. ST Microelectronics Coppell (3)
TOP LOCAL INVENTOR (NO. OF PATENTS)
TIE
Ryan Daniel Wills, Carrollton (2)
William Charles Easttom, McKinney (2)
SPEED: APPLICATION TO ISSUE (NO. OF DAYS)
183 days
System and method for routing media, patent no. 9756362
SITO Mobile RD IP, Jersey City, NJ (Inventor: Donald H. Bate, Plano)
4,464 days
Sustained release vaccine composition, patent no. 9750797
Virbac Corporation, Fort Worth
Don’t miss Dallas Invents: Sign up for the Dallas Innovates e-newsletter.
Patent information is provided by Joe Chiarella, founder of patent analytics company Patent Index and publisher of The Inventiveness Index.
For additional details on the patents granted below, search the USPTO Patent Full-Text and Image Database.
UTILITY PATENTS
H U M A N N E C E S S I T I E S

[PATENT NO. 9750227 IMAGE VIA USPTO]
Method and system for remote monitoring, care and maintenance of animals
Patent No. 9750227
Inventor(s): Krystalka R. Womble (Dallas, TX), Robert L. Piccioni (Rowlett, TX)
Assignee(s): Botsitter, LLC (Rowlett, TX)
Law Firm: Grable Martin Fulton PLLC (1 non-local offices)
Application No., Date, Speed: 15365901 on 11/30/2016 (279 days app to issue)
Abstract: A system for remote care of an animal includes a water-tight housing with a hardened structural shell defining a chamber for accommodating the animal, a door disposed in the housing providing entry into and exit from the chamber by the animal, a wireless data communication system disposed within the housing and wirelessly communicatively coupled with a global computer network, a mobility portion coupled to the housing and operable to move the housing, and a microprocessor disposed within the housing and in communication with the wireless data communication system and operable to control the mobility portion and the door.
[A01K] ANIMAL HUSBANDRY; CARE OF BIRDS, FISHES, INSECTS; FISHING; REARING OR BREEDING ANIMALS, NOT OTHERWISE PROVIDED FOR; NEW BREEDS OF ANIMALS
Shape-set textile structure based mechanical thrombectomy systems
Patent No. 9750524
Inventor(s): Vallabh Janardhan (Dallas, TX)
Assignee(s): Insera Therapeutics, Inc. (Sacramento, CA)
Law Firm: Knobbe Martens Olson Bear, LLP (12 non-local offices)
Application No., Date, Speed: 14926636 on 10/29/2015 (677 days app to issue)
Abstract: A biomedical shape-set textile structure based mechanical thrombectomy systems and methods are described. In one of the embodiments, the mechanical thrombectomy device can be customized to the length of the clot in each patient. In one of the embodiments, the mechanical thrombectomy device because of the textile structure has a very low overall profile or thickness that is less than 0.0125 inches (0.317 mm) and therefore can be deployed within microcatheters with inner lumen diameter as small as 0.014 inches (0.355 mm).
[A61M] DEVICES FOR INTRODUCING MEDIA INTO, OR ONTO, THE BODY (introducing media into or onto the bodies of animals A61D 7/00; means for inserting tampons A61F 13/26; devices for administering food or medicines orally A61J; containers for collecting, storing or administering blood or medical fluids A61J 1/05); DEVICES FOR TRANSDUCING BODY MEDIA OR FOR TAKING MEDIA FROM THE BODY (surgery A61B; chemical aspects of surgical articles A61L; magnetotherapy using magnetic elements placed within the body A61N 2/10); DEVICES FOR PRODUCING OR ENDING SLEEP OR STUPOR [5]
Ophthalmic formulations of cetirizine and methods of use
Patent No. 9750684
Inventor(s): George Minno (Windham, NH), Jackie Nice (Medford, MA), Mark Barry Abelson (Andover, MA), Matthew J. Chapin (Amesbury, MA), Paul Gomes (Andover, MA)
Assignee(s): Nicox Ophthalmics, Inc. (Fort Worth, TX)
Law Firm: Cooley LLP (13 non-local offices)
Application No., Date, Speed: 14982258 on 12/29/2015 (616 days app to issue)
Abstract: The present invention provides stable topical formulations of cetirizine that provide a comfortable formulation when instilled in the eye and is effective in the treatment of allergic conjunctivitis and/or allergic conjunctivitis. The invention further provides methods of treating allergic conjunctivitis and/or allergic rhinoconjunctivitis in a subject in need of such treatment by topical application of the cetirizine formulations of the invention directly to the eye.
[A61K] PREPARATIONS FOR MEDICAL, DENTAL, OR TOILET PURPOSES (devices or methods specially adapted for bringing pharmaceutical products into particular physical or administering forms A61J 3/00; chemical aspects of, or use of materials for deodorisation of air, for disinfection or sterilisation, or for bandages, dressings, absorbent pads or surgical articles A61L; soap compositions C11D)
Pheromone compositions and their use to modify behavior in different vertebrate species
Patent No. 9750691
Inventor(s): Larry Nouvel (Plano, TX)
Assignee(s): Sergeant’s Pet Care Products, Inc. (Omaha, NE)
Law Firm: Polsinelli PC (Local + 14 other metros)
Application No., Date, Speed: 13623319 on 09/20/2012 (1811 days app to issue)
Abstract: A composition comprising an INTEROMONE is described for the modification of undesirable or harmful stress-related behaviors or other behaviors or physiology in a variety of vertebrate species, as well as methods of using the compositions in vertebrates from a species different than the species in which the INTEROMONE is a naturally occurring pheromone.
[A61K] PREPARATIONS FOR MEDICAL, DENTAL, OR TOILET PURPOSES (devices or methods specially adapted for bringing pharmaceutical products into particular physical or administering forms A61J 3/00; chemical aspects of, or use of materials for deodorisation of air, for disinfection or sterilisation, or for bandages, dressings, absorbent pads or surgical articles A61L; soap compositions C11D)
Decubitus treatment system
Patent No. 9750781
Inventor(s): Ivan E. Danhof (Grand Prairie, TX)
Assignee(s): Aloe Bioscience, LLC (Dallas, TX)
Law Firm: Chalker Flores, LLP (Local)
Application No., Date, Speed: 14579190 on 12/22/2014 (988 days app to issue)
Abstract: The present invention includes compositions and methods for cleaning, treating, protection and resolution of decubitus ulcers comprising: a first composition comprising a wound cleaning solution comprising aloe vera gel comprising at least 5,000 MPS, a balanced salt solution; and a second composition comprising a wound healing gel comprising aloe vera gel comprising at least 10,000 MPS, a thickening agent, and one or more preservatives and, optionally, a third composition comprising a moisture barrier cream comprising a vegetable-based emulsifier, a cosmetic ester for dry skin that has low occlusivity, an ester-based emollient that is oxidation stable and has low occlusivity; a beeswax; a hydrogenated oil, glycerin, a buffering agent, aloe vera gel comprising at least 2,000 MPS and water.
[A61K] PREPARATIONS FOR MEDICAL, DENTAL, OR TOILET PURPOSES (devices or methods specially adapted for bringing pharmaceutical products into particular physical or administering forms A61J 3/00; chemical aspects of, or use of materials for deodorisation of air, for disinfection or sterilisation, or for bandages, dressings, absorbent pads or surgical articles A61L; soap compositions C11D)
Sustained release vaccine composition
Patent No. 9750797
Inventor(s): Malcolm Brandon (Balwyn, , AU), Serge Martinod (Groton, CT)
Assignee(s): VIRBAC CORPORATION (Fort Worth, TX)
Law Firm: Westerman, Hattori, Daniels Adrian, LLP (2 non-local offices)
Application No., Date, Speed: 11629681 on 06/16/2005 (4464 days app to issue)
Abstract: A non-liquid vaccine composition including one or more antigen component(s); a pharmaceutically acceptable non-liquid adjuvant therefor; and optionally a non-liquid vaccine protection agent.
[A61K] PREPARATIONS FOR MEDICAL, DENTAL, OR TOILET PURPOSES (devices or methods specially adapted for bringing pharmaceutical products into particular physical or administering forms A61J 3/00; chemical aspects of, or use of materials for deodorisation of air, for disinfection or sterilisation, or for bandages, dressings, absorbent pads or surgical articles A61L; soap compositions C11D)
Systems, methods, and devices for evaluating lead placement based on generated visual representations of sacrum and lead
Patent No. 9750946
Inventor(s): Norbert Kaula (Arvada, CO), Steven Siegel (North Oaks, MN), Yohannes Iyassu (Denver, CO)
Assignee(s): NUVECTRA CORPORATION (Plano, TX)
Law Firm: Haynes and Boone, LLP (Local + 13 other metros)
Application No., Date, Speed: 15174318 on 06/06/2016 (456 days app to issue)
Abstract: A method of evaluating an implantation of a lead is disclosed. Via a graphical user interface of an electronic device, a visual representation of a sacrum of the patient and a lead that is implanted in the sacrum is displayed. The lead includes a plurality of electrode contacts. An evaluation is made as to how well the lead has been implanted in the sacrum based on the visual representation of the sacrum and the lead. The evaluating comprises: determining whether the lead is inserted in a predetermined region of the sacrum, determining how far a predetermined one of the electrode contacts is located from an edge of the sacrum, and determining a degree of curvature of the lead.
[A61B] DIAGNOSIS; SURGERY; IDENTIFICATION (analysing biological material G01N, e.g. G01N 33/48)
Block copolymer and micelle compositions and methods of use thereof
Patent No. 9751970
Inventor(s): David Boothman (Dallas, TX), Jinming Gao (Plano, TX), Kejin Zhou (Dallas, TX), Yiguang Wang (Dallas, TX)
Assignee(s): The Board of Regents of the University of Texas System (Austin, TX)
Law Firm: Parker Highlander PLLC (1 non-local offices)
Application No., Date, Speed: 15072522 on 03/17/2016 (537 days app to issue)
Abstract:
[A61K] PREPARATIONS FOR MEDICAL, DENTAL, OR TOILET PURPOSES (devices or methods specially adapted for bringing pharmaceutical products into particular physical or administering forms A61J 3/00; chemical aspects of, or use of materials for deodorisation of air, for disinfection or sterilisation, or for bandages, dressings, absorbent pads or surgical articles A61L; soap compositions C11D)
O P E R A T I O N S & T R A N S P O R T

[PATENT NO. 9751630 IMAGE VIA USPTO]
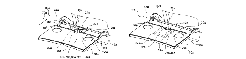
Tray table device
Patent No. 9751630
Inventor(s): Clinton Melton (Denton, TX)
Assignee(s): RECARO Aircraft Seating GmbH Co. KG (Schwaebisch Hall, , DE)
Law Firm: Posz Law Group, PLC (1 non-local offices)
Application No., Date, Speed: 15194973 on 06/28/2016 (434 days app to issue)
Abstract: The invention relates to a tray table device, in particular a passenger seat tray table device, with at least one table unit, and with at least one cup holder unit which is provided in at least one position of use to at least partly hold at least one drinking vessel. The cup holder unit is movably mounted to the table unit.
[B64D] EQUIPMENT FOR FITTING IN OR TO AIRCRAFT; FLYING SUITS; PARACHUTES; ARRANGEMENTS OR MOUNTING OF POWER PLANTS OR PROPULSION TRANSMISSIONS IN AIRCRAFT
Wheel chock systems
Patent No. 9751702
Inventor(s): Daryl Day (Frisco, TX), Richard K. Hoofard (Dallas, TX)
Assignee(s): ASSA ABLOY Entrance Systems, Inc. (Landskrona, , SE)
Law Firm: Perkins Coie LLP (17 non-local offices)
Application No., Date, Speed: 15174767 on 06/06/2016 (456 days app to issue)
Abstract: Wheel chock systems for use at loading docks and other locations are described herein. In some embodiments, the wheel chock systems can include a wheel chock assembly that is positionable in contact with a vehicle wheel to restrain the vehicle at a loading dock. The wheel chock assembly can include a sensor target, and a corresponding sensor can be mounted to, for example, an outer wall of the loading dock or a wheel chock storage cradle mounted to the outer wall. In operation, the sensor can emit a wireless signal (e.g., an electromagnetic signal) that is reflected off of the sensor target and received back by the sensor when the wheel chock has been positioned in a blocking relationship relative to the vehicle wheel to restrain the vehicle at the loading dock. The sensor can be operably connected to a loading dock signal system (e.g., a signal light system) that displays appropriate signals to loading dock personnel based on detection of proper wheel chock placement. In other embodiments, wheel chock systems can include other types of devices for wirelessly communicating wheel chock placement information to loading dock systems. Such device types can include, for example, Bluetooth, Wi-Fi, RFID, etc.
[B60T] VEHICLE BRAKE CONTROL SYSTEMS OR PARTS THEREOF; BRAKE CONTROL SYSTEMS OR PARTS THEREOF, IN GENERAL (control of electrodynamic brake systems B60L 7/00; conjoint control of brakes and other drive units of vehicles B60W); ARRANGEMENT OF BRAKING ELEMENTS ON VEHICLES IN GENERAL; PORTABLE DEVICES FOR PREVENTING UNWANTED MOVEMENT OF VEHICLES; VEHICLE MODIFICATIONS TO FACILITATE COOLING OF BRAKES [2006.01]
Ethylene/alpha-olefin interpolymer composition
Patent No. 9752021
Inventor(s): Julie W. Mckenna (McKinney, TX)
Assignee(s): DOW GLOBAL TECHNOLOGIES LLC (Midland, MI)
Law Firm: Husch Blackwell LLP (8 non-local offices)
Application No., Date, Speed: 14762898 on 03/13/2014 (1272 days app to issue)
Abstract: The instant invention provides an ethylene/alpha-olefin interpolymer composition suitable for blown film applications, and blown films made therefrom. The ethylene/alpha-olefin interpolymer composition suitable for blown film applications according to the present invention comprises greater than 80 percent by weight of units derived from ethylene and 20 percent or less by weight of units derived from one or more alpha olefin co-monomers, wherein said ethylene/alpha-olefin interpolymer has a density in the range of from 0.910 to 0.918 g/cm[superscript]3[/superscript], a melt index I[subscript]2 [/subscript]in the range of from 0.5 to 1.1 g/10 minutes, a melt flow ratio I[subscript]10[/subscript]/I[subscript]2 [/subscript]in the range of from 8 to 10, a melt strength in the range of from 3 to 6 cN, a highest temperature fraction in the range of from 11 to 14 percent determined by CEF, a highest peak temperature fraction by CEF in range of from 96 to 100 C., and a lowest temperature fraction from CEF in the range of from 2 to 5 percent, and a DSC heat curve having three melting peaks with a highest temperature melting peak in the range of from 120 to 124 C., a crystallinity in the range of from 40 to 50 percent.
[B32B] LAYERED PRODUCTS, i.e. PRODUCTS BUILT-UP OF STRATA OF FLAT OR NON-FLAT, e.g. CELLULAR OR HONEYCOMB, FORM
C H E M I S T R Y & M E T A L L U R G Y

[PATENT NO. 9751788 IMAGE VIA USPTO]
Bacterial additives for biological and/or chemical contaminants within water-based fluids
Patent No. 9751788
Inventor(s): James Kiolbassa (Mansfield, TX)
Assignee(s): Baker Hughes Incorporated (Houston, TX)
Law Firm: Mossman, Kumar Tyler, P.C. (2 non-local offices)
Application No., Date, Speed: 14336858 on 07/21/2014 (1142 days app to issue)
Abstract: An effective amount of at least one second bacteria may be added to a wastewater stream within a water treatment system. The wastewater stream may have or include an aqueous-based fluid, a first bacteria and organic acids. The second bacteria may be or include, but is not limited to facultative bacteria, spore-forming bacteria, phenol degrading bacteria, denitrifying bacteria, organic acid-degrading bacteria, high temperature bacteria, and combinations thereof. The addition of the second bacteria the wastewater treatment system may at least partially reduce the amount of the organic acids within the wastewater stream as compared to an otherwise identical wastewater stream in the absence of the second bacteria.
[C02F] TREATMENT OF WATER, WASTE WATER, SEWAGE, OR SLUDGE (processes for making harmful chemical substances harmless, or less harmful, by effecting a chemical change in the substances A62D 3/00; separation, settling tanks or filter devices B01D; special arrangements on waterborne vessels of installations for treating water, waste water or sewage, e.g. for producing fresh water, B63J; adding materials to water to prevent corrosion C23F; treating radioactively-contaminated liquids G21F 9/04) [3]
Manufacturing process for cyclodextrin derivatives
Patent No. 9751957
Inventor(s): Jose R. Matos (Plano, TX)
Assignee(s): CyDex Pharmaceuticals, Inc. (San Diego, CA)
Law Firm: Knobbe, Martens, Olson Bear LLP (9 non-local offices)
Application No., Date, Speed: 14378953 on 02/14/2013 (1664 days app to issue)
Abstract: A process and equipment assembly for reacting a substituent precursor with a cyclodextrin starting material to provide a raw product comprising a cyclodextrin derivative and 1% or less of an initial amount of the substituent precursor is provided. The process of the present invention provides cyclodextrin derivatives in substantially shorter time and with fewer side products than previous processes that utilize substantially the same starting materials.
[C08B] POLYSACCHARIDES; DERIVATIVES THEREOF (polysaccharides containing less than six saccharide radicals attached to each other by glycosidic linkages C07H; fermentation or enzyme-using processes C12P 19/00; production of cellulose D21) [4]
F I X E D C O N S T R U C T I O N S

[PATENT NO. 9752324 IMAGE VIA USPTO]
Roofing shingle system and shingles for use therein
Patent No. 9752324
Inventor(s): Olan Leitch (Bakersfield, CA)
Assignee(s): Building Materials Investment Corporation (Dallas, TX)
Law Firm: Fitzpatrick, Cella, Harper Scinto (4 non-local offices)
Application No., Date, Speed: 14656886 on 03/13/2015 (907 days app to issue)
Abstract: A roofing shingle is provided comprising a reduced-with headlap portion including headlap projections, a buttlap portion including buttlap projections, a lateral leading edge, and a lateral trailing edge, wherein the headlap projection nearest the lateral leading edge has an increased breadth. A roofing system is also provided comprising a multiplicity of courses of shingles of the invention, wherein a lateral trailing edge of a shingle in a single course overlaps (side-laps) an adjacent previously installed shingle, and wherein a shingle in a subsequent course provides a generally uniform overlap region over the headlap portions of a first and second adjacent shingle in the first course and an expanded overlap region over the second adjacent shingle, wherein the expanded overlap region is due to the increased breadth of the headlap projection nearest the lateral leading edge of the second adjacent shingle in the first course.
[E04D] ROOF COVERINGS; SKY-LIGHTS; GUTTERS; ROOF-WORKING TOOLS (coverings of outer walls by plaster or other porous material E04F 13/00)
Multistory residential building with elevator served upper corridor
Patent No. 9752337
Inventor(s): Jerry W. Stewart (Dallas, TX), W. Bryan Thruston (Dallas, TX)
Assignee(s): ST Joint Venture (Dallas, TX)
Law Firm: Gardere Wynne Sewell LLP (Local + 1 other metros)
Application No., Date, Speed: 14863076 on 09/23/2015 (713 days app to issue)
Abstract: A mid-rise residential building with a garage section, a lower section disposed above the garage section, and an upper section disposed above the lower section is disclosed. The upper section includes a corridor that traverses the building, but the lower section does not include such a corridor. The garage section includes a plurality of private garages. The lower section includes at least a pair of multistory dwelling units, where each unit has a through unit floor plan and each unit provides direct access to a respective private garage. The upper section includes a corridor. The upper section also includes a single story dwelling unit that is primarily accessible from the corridor; and at least two multistory dwelling units that have respective entranceways disposed laterally across the corridor from the single story dwelling unit. Each of the multistory dwelling units has a second floor with portions directly above the corridor and the single story dwelling unit. An elevator serves the corridor of the upper section, but it bypasses the lower section.
[E04H] BUILDINGS OR LIKE STRUCTURES FOR PARTICULAR PURPOSES; SWIMMING OR SPLASH BATHS OR POOLS; MASTS; FENCING; TENTS OR CANOPIES, IN GENERAL (foundations E02D) [4]
Barrier operator mechanical transmission assembly
Patent No. 9752369
Inventor(s): Amit Ashok Patel (Lewisville, TX), David Patrick Bresson (Uniontown, OH), Juan Manuel Diaz (Plano, TX), Leroy G. Krupke (Carrollton, TX)
Assignee(s): Overhead Door Corporation (Lewisville, TX)
Law Firm: Gardere Wynne Sewell LLP (Local + 1 other metros)
Application No., Date, Speed: 13477444 on 05/22/2012 (1932 days app to issue)
Abstract: Disclosed are alternate embodiments of various components of a barrier operator system. and methods of operation, including of the mechanical drive subsystem with segmented and self-locking rail unit, rail mounting supports, belt and chain drive tensioning, and drive assembly carriage and interface; the electronics and software routines for controlled operation of the various barrier operator functions; wall console communications with the barrier operator; encryption and decryption of access codes; establishment and monitoring of travel limits and barrier speed and force profiles; thermal protection of barrier operator drive motors; and establishment and control of communications from the barrier operator to accessories by way of a wireless adapter.
[E05D] HINGES OR OTHER SUSPENSION DEVICES FOR DOORS, WINDOWS, OR WINGS (pivotal connections in general F16C 11/00)
Casing window assembly
Patent No. 9752390
Inventor(s): David Joe Steele (Arlington, TX)
Assignee(s): HALLIBURTON ENERGY SERVICES, INC. (Houston, TX)
Law Firm: Kilpatrick Townsend Stockton LLP (14 non-local offices)
Application No., Date, Speed: 15154031 on 05/13/2016 (480 days app to issue)
Abstract: A casing window assembly for completion of a lateral wellbore. The casing window assembly includes a tubular casing sleeve with a casing window and an inner sleeve releasably secured within the casing sleeve at a pre-released position adjacent the casing window.
[E21B] EARTH OR ROCK DRILLING (mining, quarrying E21C; making shafts, driving galleries or tunnels E21D); OBTAINING OIL, GAS, WATER, SOLUBLE OR MELTABLE MATERIALS OR A SLURRY OF MINERALS FROM WELLS [5]
Expandable liner hanger with high axial load capacity
Patent No. 9752400
Inventor(s): Gary Lynn Hazelip (Frisco, TX), Shane Furlong (Frisco, TX), Todd R. Agold (Garland, TX)
Assignee(s): HALLIBURTON ENERGY SERVICES, INC. (Houston, TX)
Law Firm: Haynes and Boone LLP (Local + 13 other metros)
Application No., Date, Speed: 14892129 on 07/22/2013 (1506 days app to issue)
Abstract: A high-axial load bearing assembly is provided for use with a radially expandable tool such as an expandable liner hanger. Exemplary embodiments of axial load bearing assemblies operate independently of external casing pressure and internal tubing pressure. The assemblies do not rely on movable slips or the physical characteristics of the sealing members to grip the casing and bear the axial load. The gripping and sealing functions are largely separated between gripping and sealing sub-assemblies. Hardened metal features which undergo radial expansion during deployment are provided with expansion stress-relief features.
[E21B] EARTH OR ROCK DRILLING (mining, quarrying E21C; making shafts, driving galleries or tunnels E21D); OBTAINING OIL, GAS, WATER, SOLUBLE OR MELTABLE MATERIALS OR A SLURRY OF MINERALS FROM WELLS [5]
Wellbore plug isolation system and method
Patent No. 9752406
Inventor(s): David S. Wesson (Fort Worth, TX), John T. Hardesty (Weatherford, TX), Philip M. Snider (Tomball, TX)
Assignee(s): GEODYNAMICS, INC. (Millsap, TX)
Law Firm: Carstens Cahoon, LLP (Local)
Application No., Date, Speed: 14732391 on 06/05/2015 (823 days app to issue)
Abstract: A wellbore plug isolation system and method for positioning plugs to isolate fracture zones in a horizontal, vertical, or deviated wellbore is disclosed. The system/method includes a wellbore casing laterally drilled into a hydrocarbon formation, a wellbore setting tool (WST) that sets a large inner diameter (ID) restriction sleeve member (RSM), and a restriction plug element (RPE). The RPE includes a first composition and a second composition that changes phase or strength under wellbore conditions. After a stage is perforated, RPEs are deployed to isolate toe ward pressure communication. The second composition changes phase to create flow channels in the RPE during production. In an alternate system/method, the second composition changes phase or strength thereby deforming the RPE to reduce size and pass through the RSM’s. The RPEs are removed or left behind prior to initiating well production without the need for a milling procedure.
[E21B] EARTH OR ROCK DRILLING (mining, quarrying E21C; making shafts, driving galleries or tunnels E21D); OBTAINING OIL, GAS, WATER, SOLUBLE OR MELTABLE MATERIALS OR A SLURRY OF MINERALS FROM WELLS [5]
Wellbore servicing tools, systems and methods utilizing downhole wireless switches
Patent No. 9752414
Inventor(s): Donald Kyle (Plano, TX), Michael Linley Fripp (Carrollton, TX), Zachary William Walton, Jr. (Coppell, TX)
Assignee(s): Halliburton Energy Services, Inc. (Houston, TX)
Law Firm: Baker Botts L.L.P. (Local + 8 other metros)
Application No., Date, Speed: 13907593 on 05/31/2013 (1558 days app to issue)
Abstract: A wellbore tool comprising a power supply, an electrical load, a receiving unit configured to passively receive a triggering signal, and a switching system electrically coupled to the power supply, the receiving unit, and the electrical load, wherein the switching system is configured to selectively transition from an inactive state to an active state in response to the triggering signal, from the active state to the active state in response to the triggering signal, or combinations thereof, wherein in the inactive state a circuit is incomplete and any route of electrical current flow between the power supply and the electrical load is disallowed, and wherein in the active state the circuit is complete and at least one route of electrical current flow between the power supply and the electrical load is allowed.
[E21B] EARTH OR ROCK DRILLING (mining, quarrying E21C; making shafts, driving galleries or tunnels E21D); OBTAINING OIL, GAS, WATER, SOLUBLE OR MELTABLE MATERIALS OR A SLURRY OF MINERALS FROM WELLS [5]
Gravel packing apparatus having optimized fluid handling
Patent No. 9752417
Inventor(s): Jan Veit (Plano, TX)
Assignee(s): HALLIBURTON ENERGY SERVICES, INC. (Houston, TX)
Law Firm: Haynes and Boone, LLP (Local + 13 other metros)
Application No., Date, Speed: 14484539 on 09/12/2014 (1089 days app to issue)
Abstract: A gravel packing apparatus includes a base pipe having at least one opening in a sidewall portion thereof. A fluid filtration subassembly is positioned exteriorly of the base pipe and is in fluid communication with the at least one opening of the base pipe. The fluid filtration subassembly extends partially circumferentially around the base pipe and has at least two circumferential terminuses defining a circumferential gap therebetween. A slurry delivery subassembly is positioned exteriorly of the base pipe and at least partially within the circumferential gap.
[E21B] EARTH OR ROCK DRILLING (mining, quarrying E21C; making shafts, driving galleries or tunnels E21D); OBTAINING OIL, GAS, WATER, SOLUBLE OR MELTABLE MATERIALS OR A SLURRY OF MINERALS FROM WELLS [5]
Pressure switch for selective firing of perforating guns
Patent No. 9752421
Inventor(s): Bradley Vass (Fort Worth, TX), Cory D. Day (Burleson, TX)
Assignee(s): OWEN OIL TOOLS LP (Houston, TX)
Law Firm: Mossman, Kumar Tyler, PC (2 non-local offices)
Application No., Date, Speed: 15008061 on 01/27/2016 (587 days app to issue)
Abstract: A switch includes a casing having a bore, a piston assembly having a first end and an exposed end, a plurality of flanges formed at the first end; an insulating sleeve enclosing the first end, a contact assembly disposed in the casing bore; a pin disposed in the bore; a predetermined quantity of lubricant deposited in the bore; and a spring urging the pin into engagement with the piston assembly. The insulating sleeve and the plurality of flanges are at least partially disposed in the casing bore. The pin has: (i) a first position wherein the pin electrically contacts the piston assembly and is electrically isolated from the contact assembly; and (ii) a second position wherein the pin is electrically isolated from the piston assembly and electrically engages the contact assembly. The predetermined quantity of lubricant may be approximately 0.3 grams.
[E21B] EARTH OR ROCK DRILLING (mining, quarrying E21C; making shafts, driving galleries or tunnels E21D); OBTAINING OIL, GAS, WATER, SOLUBLE OR MELTABLE MATERIALS OR A SLURRY OF MINERALS FROM WELLS [5]
M E C H A N I C A L E N G I N E E R I N G
LIGHTING | HEATING | WEAPONS | BLASTING

[PATENT NO. 9751244 IMAGE VIA USPTO]
Elastomeric gasket for fuel access door of an aircraft wing and a method for making the same
Patent No. 9751244
Inventor(s): Jeff Busby (Millsap, TX), Kent Boomer (Aledo, TX), Matt Boyd (Fort Worth, TX), Michael Dry (Fort Worth, TX)
Assignee(s): THE PATENT WELL LLC (Fort Worth, TX)
Law Firm: Jackson walker LLP (Local + 3 other metros)
Application No., Date, Speed: 15085389 on 03/30/2016 (524 days app to issue)
Abstract: An assembly for use on an aircraft wing having an aircraft skin and a fuel tank, the assembly comprising a metal access door for accessing the fuel tank, a metal retainer ring for engaging the wing and the access door. Fasteners removably couple the access door to the retainer ring. A lip, which may be on the wing surface, is configured to receive a perimeter of the access door when the access door is coupled to the retainer ring. A polyurethane elastomeric gel gasket having a metallic skeleton is configured to lay between the access door and a lip of the metal wing surface. Under compression, the polyurethane will deform and squeeze out the edges and flatten so as to provide metal-to-metal contact between the access door and the lip.
[F16J] PISTONS; CYLINDERS; PRESSURE VESSELS IN GENERAL; SEALINGS
P H Y S I C S

[PATENT NO. 9752861 IMAGE VIA USPTO]
Flexible strain sensors
Patent No. 9752861
Inventor(s): Jung-Chih Chiao (Grand Prairie, TX), Smitha Rao (Arlington, TX), Uday Tata (Arlington, TX)
Assignee(s): The Board of Regents, The University of Texas System (Austin, TX)
Law Firm: Thomas | Horstemeyer, LLP (no location found)
Application No., Date, Speed: 14438397 on 10/25/2013 (1411 days app to issue)
Abstract: In one embodiment, a flexible strain sensor includes a flexible substrate having a top surface and a layer of piezoresistive amorphous carbon formed on the top surface of the substrate.
[G01B] MEASURING LENGTH, THICKNESS OR SIMILAR LINEAR DIMENSIONS; MEASURING ANGLES; MEASURING AREAS; MEASURING IRREGULARITIES OF SURFACES OR CONTOURS
Voltage regulator with fast overshoot settling response
Patent No. 9753476
Inventor(s): Hemant Shukla (Bangalore, , IN), Saurabh Kumar Singh (Bangalore, , IN)
Assignee(s): SanDisk Technologies LLC (Plano, TX)
Law Firm: Vierra Magen Marcus LLP (1 non-local offices)
Application No., Date, Speed: 15099491 on 04/14/2016 (509 days app to issue)
Abstract: A voltage regulator circuit is provided in which voltage overshoots are quickly dissipated using a discharge path which is connected to an output of the voltage regulator. Circuitry for controlling the discharge path is provided using internal currents of an error amplifier to provide a space-efficient and power-efficient design with a fast response. Moreover, hysteresis can be provided to avoid toggling between discharge and no discharge, and to avoid undershoot when discharging the output. A digital or analog signal is set which turns the discharge transistor on or off. A current pulldown may be arranged in the discharge path.
[G05F] SYSTEMS FOR REGULATING ELECTRIC OR MAGNETIC VARIABLES (regulating the timing or recurrence frequency of pulses in radar or radio navigation systems G01S; regulation of current or voltage, specially adapted for use in electronic time-pieces G04G 19/02; closed-loop systems for regulating non-electric variables by electric means G05D; regulating power supply of digital computers G06F 1/26; for obtaining desired operating characteristics of electromagnets with armatures H01F 7/18; regulating electric power distribution networks H02J; regulating the charging of batteries H02J 7/00; regulating of the output of static converters, e.g. switching regulators, H02M; regulation of the output of electric generators H02N, H02P 9/00; controlling transformers, reactors or choke coils H02P 13/00; regulating frequency response, gain, maximum output, amplitude or bandwidth of amplifiers H03G; regulating tuning of resonant circuits H03J; controlling generators of electronic oscillations or pulses H03L; regulating characteristics of transmission lines H04B; controlling electric light sources H05B 37/02, H05B 39/04, H05B 41/36; electric control of X-ray apparatus H05G 1/30) [5]
Dynamic clock rate control for power reduction
Patent No. 9753522
Inventor(s): Reed P. Tidwell (Centerville, UT)
Assignee(s): SanDisk Technologies LLC (Plano, TX)
Law Firm: Brinks Gilson Lione (7 non-local offices)
Application No., Date, Speed: 14635789 on 03/02/2015 (918 days app to issue)
Abstract: A pipeline system may adjust clock rates of variable-rate clock signals sent to different processing circuit blocks in a pipeline based on their respective, individual input and output buffer fill levels and processor busy statuses. Variable-rate clock generation circuitry may generate the variable-rate clock signals based on a common clock signal. Additionally, the variable-rate clock generation circuitry may set or adjust the rates of variable-rate clock signals linearly in evenly-spaced increments and decrements.
[G06F] ELECTRIC DIGITAL DATA PROCESSING (computer systems based on specific computational models G06N)
Interactive presentation system
Patent No. 9753619
Inventor(s): Callie Thomas (Dallas, TX), William Thomas (Dallas, TX)
Assignee(s): Thomas Creative Group Productions, LLC (Dallas, TX)
Law Firm: Norton Rose Fulbright US LLP (Local + 11 other metros)
Application No., Date, Speed: 13790043 on 03/08/2013 (1642 days app to issue)
Abstract: In some aspects, a method of authoring an interactive presentation includes defining a sequence of two or more primary content items within a presentation, and associating a link to additional content with a primary content item of the sequence in a non-transitory computer-readable medium. In additional aspects, a method of delivering an interactive presentation includes accessing the sequence of two or more primary content items, delivering the primary content items to a presentation device, and delivering, to applications operating on mobile devices of audience members, the primary content items with the additional content and/or one or more links thereto. In further aspects, a method of interacting with an interactive presentation includes receiving, by a mobile device of an audience member, a sequence of primary content items with additional content and/or one or more links thereto, and displaying the received primary content items and the additional content.
[G06F] ELECTRIC DIGITAL DATA PROCESSING (computer systems based on specific computational models G06N)
Tracking intermix of writes and un-map commands across power cycles
Patent No. 9753649
Inventor(s): Aaron K. Olbrich (Morgan Hill, CA), Anand Kulkarni (San Jose, CA), Douglas A. Prins (Laguna Hills, CA), Graeme Weston-Lewis (Pleasanton, CA), Huapeng Guan (Fremont, CA), Yipei Yu (San Francisco, CA)
Assignee(s): SanDisk Technologies LLC (Plano, TX)
Law Firm: Brinks Gilson Lione (7 non-local offices)
Application No., Date, Speed: 14659493 on 03/16/2015 (904 days app to issue)
Abstract: Systems, methods and/or devices are used to enable tracking intermix of writes and un-map commands across power cycles. In one aspect, the method includes (1) receiving, at a storage device, a plurality of commands from a host, the storage device including non-volatile memory, (2) maintaining a log corresponding to write commands and un-map commands from the host, (3) maintaining a mapping table in volatile memory, the mapping table used to translate logical addresses to physical addresses, (4) saving the mapping table, on a scheduled basis that is independent of the un-map commands, to the non-volatile memory of the storage device, (5) saving the log to the non-volatile memory, and (6) upon power up of the storage device, rebuilding the mapping table from the saved mapping table in the non-volatile memory of the storage device and from the saved log in the non-volatile memory of the storage device.
[G06F] ELECTRIC DIGITAL DATA PROCESSING (computer systems based on specific computational models G06N)
High-priority NAND operations management
Patent No. 9753653
Inventor(s): Jack Edward Frayer (Boulder Creek, CA), Robert W. Ellis (Phoenix, AZ), Todd Lindberg (Phoenix, AZ), Vidyabhushan Mohan (San Jose, CA)
Assignee(s): SanDisk Technologies LLC (Plano, TX)
Law Firm: Brinks Gilson Lione (7 non-local offices)
Application No., Date, Speed: 14925941 on 10/28/2015 (678 days app to issue)
Abstract: Systems, methods, and/or devices are used to manage high-priority NAND operations. In some embodiments, the method includes receiving a first command (e.g., requesting a high-priority memory operation) corresponding to a first location (e.g., having both a first physical address and a first aliased physical address) in a first die of a plurality of physical non-volatile memory die in a storage device. If the first die is performing a blocking low-priority memory operation (e.g., the low-priority operation was sent to the first die using a second physical address), the method includes sending a memory operation command, corresponding to the first memory operation, to the first die using the first aliased physical address. In some embodiments, a predefined die-selection portion of the second physical address matches the predefined die-selection portion of the first physical address and does not match the predefined die-selection portion of the first aliased physical address.
[G06F] ELECTRIC DIGITAL DATA PROCESSING (computer systems based on specific computational models G06N)
Dynamic reconditioning of charge trapped based memory
Patent No. 9753657
Inventor(s): James Fitzpatrick (Sudbury, MA), Jiahui Yuan (Milpitas, CA), Nian Niles Yang (Mountain View, CA)
Assignee(s): SanDisk Technologies LLC (Plano, TX)
Law Firm: Brinks Gilson Lione (7 non-local offices)
Application No., Date, Speed: 14858480 on 09/18/2015 (718 days app to issue)
Abstract: A storage device with a charge trapping (CT) based memory may include improved data retention (DR) performance. The CT memory may be 3D memory that uses a charge storage layer for storing charge may have unique data retention behavior. Memory blocks using a charge storage layer may be dynamically detected and reconditioned and re-programmed to improve memory characteristics, such as data retention. The reconditioning may include a dedicated erase cycle for a block that improves the data retention.
[G06F] ELECTRIC DIGITAL DATA PROCESSING (computer systems based on specific computational models G06N)
Document processing system, document workflow application and document processing method, configured for flexible workflow
Patent No. 9753686
Inventor(s): Qinlei Fan (Frisco, TX)
Assignee(s): RICOH COMPANY, LTD. (Tokyo, , JP)
Law Firm: Cooper Dunham LLP (2 non-local offices)
Application No., Date, Speed: 14965401 on 12/10/2015 (635 days app to issue)
Abstract: Systems, apparatuses and methodologies, for an administrator to configure a flexible document workflow are provided. A workflow creation interface may be provided on a terminal (e.g., via application software) for an administrator to create and register document workflow profiles. Such workflow creation interface may be configured to include a processing location selector to receive selection by the administrator of (i) a processing location amongst plural processing locations or (ii) automatic determination. Such processing location selection may be on a connector-by-connector basis or for the entire workflow. For example, the administrator can register multiple versions of a workflow, to be processed at respective processing locations. As another example, a hybrid workflow can be created in which some workflow connectors or components are performed at one location acid other workflow connectors or components are performed at another location. In another aspect, a workflow validation module may be provided to permit the administrator to test a workflow profile (e.g., a hybrid workflow).
[G06F] ELECTRIC DIGITAL DATA PROCESSING (computer systems based on specific computational models G06N)
Automatically expiring out source code comments
Patent No. 9753722
Inventor(s): Rachel E. Kohler (Burleson, TX)
Assignee(s): INTERNATIONAL BUSINESS MACHINES CORPORATION (Armonk, NY)
Law Firm: Cantor Colburn LLP (7 non-local offices)
Application No., Date, Speed: 14967677 on 12/14/2015 (631 days app to issue)
Abstract: Aspects include a method for expiring out source code comments. The method includes parsing source code to locate one or more comments. The method also includes, for each of the located one or more comments: determining whether the comment specifies expiration criteria; determining whether the expiration criteria meets an expiration threshold based on the comment specifying expiration criteria; and deleting the comment from the source code based on determining that the expiration criteria meets the expiration threshold, the deleting resulting in updated source code. The method further includes storing the updated source code.
[G06F] ELECTRIC DIGITAL DATA PROCESSING (computer systems based on specific computational models G06N)
Cloud delivery platform
Patent No. 9753784
Inventor(s): James Paul Fox (Dallas, TX)
Assignee(s): ATT Intellectual Property I, L.P. (Atlanta, GA)
Law Firm: Hartman Citrin LLC (1 non-local offices)
Application No., Date, Speed: 14091711 on 11/27/2013 (1378 days app to issue)
Abstract: Concepts and technologies disclosed herein are directed to a cloud delivery platform. The cloud delivery platform can publish a cloud deployable offering. The cloud delivery platform can order, from a cloud orchestrator, one or more resources to be utilized by the cloud deployable offering. The cloud delivery platform can provision the cloud deployable offering on the resource(s). The cloud delivery platform can manage the cloud deployable offering to ensure that the cloud deployable offering meets a level of service. The cloud delivery platform can monitor one or more components of the cloud delivery platform to determine whether an event has occurred, and in response to determining that an event has occurred, the cloud delivery platform can broadcast the event.
[G06F] ELECTRIC DIGITAL DATA PROCESSING (computer systems based on specific computational models G06N)
Face search in personals
Patent No. 9753948
Inventor(s): Kin Man Lo (Kowloon, , CN)
Assignee(s): MATCH.COM, L.L.C. (Dallas, TX)
Law Firm: Patent Capital Group (Local + 5 other metros)
Application No., Date, Speed: 12127577 on 05/27/2008 (3388 days app to issue)
Abstract: A device, system and method to enable searching of personal profiles in the context of on-line dating that includes the ability to determine the personal profiles that have images that most closely resemble a target image.
[G06F] ELECTRIC DIGITAL DATA PROCESSING (computer systems based on specific computational models G06N)
System and method for document tracking
Patent No. 9753957
Inventor(s): William Charles Easttom, II (McKinney, TX)
Assignee(s): Open Invention Network LLC (Durham, NC)
Law Firm: Haynes and Boone, LLP (Local + 13 other metros)
Application No., Date, Speed: 13461944 on 05/02/2012 (1952 days app to issue)
Abstract: To enable tracking of a document’s history, each time an electronic document is opened, an embedding module obtains one or more document history parameters. The document history parameters may include a MAC address or the computer used to open the document, an operating system, a file size of the document, time of opening the document, a user ID, etc. The embedding module encrypts the document history parameters and embeds them into the document, for example using steganography techniques.
[G06F] ELECTRIC DIGITAL DATA PROCESSING (computer systems based on specific computational models G06N)
Using anchor points in document identification
Patent No. 9754017
Inventor(s): Matthew J. Morvant (Carrollton, TX), Michael J. Ebaugh (Dallas, TX)
Assignee(s): INDXIT SYSTEM, INC. (Addison, TX)
Law Firm: North Weber Baugh LLP (1 non-local offices)
Application No., Date, Speed: 14614318 on 02/04/2015 (944 days app to issue)
Abstract: Systems and methods are disclosed that allow for indexing, processing, or both of information from physical media or electronic media, which may be received from a plurality of sources. In embodiments, a document file may be matched using pattern matching methods and may include comparisons with a comparison reference database to improve or accelerate the indexing process. In embodiments, information may be presented to a user as potential matches thereby improving manual indexing processes. In embodiments, one or more additional actions may occur as part of the processing, including without limitation, association additional data with a document file, making observations from the document file, notifying individuals, creating composite messages, and billing events. In an embodiment, data from a document file may be associated with a key word, key phrase, or word frequency value that enables adaptive learning so that unindexed data may be automatically indexed based on user interaction history.
[G06F] ELECTRIC DIGITAL DATA PROCESSING (computer systems based on specific computational models G06N)
Method for deducing entity relationships across corpora using cluster based dictionary vocabulary lexicon
Patent No. 9754021
Inventor(s): Swaminathan Chandrasekaran (Coppell, TX)
Assignee(s): International Business Machines Corporation (Armonk, NY)
Law Firm: Terrile, Cannatti, Chambers Holland, LLP (1 non-local offices)
Application No., Date, Speed: 14638264 on 03/04/2015 (916 days app to issue)
Abstract: An approach is provided for identifying entity relationships based on word classifications extracted from business documents stored in a plurality of corpora. In the approach, performed by an information handling system, a plurality of cluster classifications are identified for the business documents so that entity information from the business documents can be classified or assigned to the cluster classifications, such as by performing natural language processing (NLP) analysis of the business documents. The approach applies semantic analysis to identify and score entity relationships between the entity information classified in the cluster classifications, and based on the scored entity relationships, cluster relationships between the cluster classifications are identified.
[G06F] ELECTRIC DIGITAL DATA PROCESSING (computer systems based on specific computational models G06N)
Dynamically adapting objects
Patent No. 9754047
Inventor(s): Ben Eng (Frisco, TX)
Assignee(s): ORACLE INTERNATIONAL CORPORATION (Redwood Shores, CA)
Law Firm: Cooper Legal Group, LLC (1 non-local offices)
Application No., Date, Speed: 14100154 on 12/09/2013 (1366 days app to issue)
Abstract: Systems, methods, and other embodiments associated with dynamically generating adaptations of data objects are described. In one embodiment, a method includes receiving a request to access a requested portion of a data object. The data object is part of an application and the data object is in a first format that is native to the application and the request is for the data object in a second format. The example method includes analyzing, using at least hardware of a computer, the data object to identify the requested portion within the data object. The example method includes dynamically generating, in a volatile memory of the computer, an adaptation of the portion of the data object to provide access to the portion of the data object in the second format.
[G06F] ELECTRIC DIGITAL DATA PROCESSING (computer systems based on specific computational models G06N)
Method and apparatus of performing data executable integrity verification
Patent No. 9754108
Inventor(s): William Charles Easttom (McKinney, TX)
Assignee(s): Open Invention Network LLC (Durham, NC)
Law Firm: Haynes and Boone, LLP (Local + 13 other metros)
Application No., Date, Speed: 15225566 on 08/01/2016 (400 days app to issue)
Abstract: Disclosed are an apparatus and method of verifying an application installation procedure. One example method of operation may include receiving an application at a computer device and initiating the installation of the application on the computer device. The method may also provide executing the application during the installation procedure and creating a hash value corresponding to the executed application data. The method may further provide storing the hash value in memory and comparing the hash value to a pre-stored hash value to determine whether to continue the installation of the application.
[G08B] SIGNALLING OR CALLING SYSTEMS; ORDER TELEGRAPHS; ALARM SYSTEMS
Tracking of shared inventory in a virtual universe
Patent No. 9754234
Inventor(s): Kulvir S. Bhogal (Fort Worth, TX)
Assignee(s): International Business Machines Corporation (Armonk, NY)
Law Firm: Schmeiser, Olsen Watts, LLP (6 non-local offices)
Application No., Date, Speed: 12032488 on 02/15/2008 (3490 days app to issue)
Abstract: Generally speaking, systems, methods and media for tracking shared inventory in a virtual universe are disclosed. Embodiments of the method may include receiving indications that a plurality of users of a virtual universe have borrowed one or more shared inventory items, each shared inventory item having an associated item owner. Embodiments may also include determining and storing metadata associated with borrowing of the shared inventory items and tracking usage of the borrowed shared inventory items by the plurality of the users. Embodiments may also include receiving a query requesting performance of an action relating to one or more shared inventory items and performing the requested action relating to the one or more shared inventory items. In further embodiments, performing the requested action may include recalling the borrowed shared inventory item and returning it to an item owner associated with the borrowed shared inventory item.
[G06Q] DATA PROCESSING SYSTEMS OR METHODS, SPECIALLY ADAPTED FOR ADMINISTRATIVE, COMMERCIAL, FINANCIAL, MANAGERIAL, SUPERVISORY OR FORECASTING PURPOSES; SYSTEMS OR METHODS SPECIALLY ADAPTED FOR ADMINISTRATIVE, COMMERCIAL, FINANCIAL, MANAGERIAL, SUPERVISORY OR FORECASTING PURPOSES, NOT OTHERWISE PROVIDED FOR [2006.01]
Framework and methodology for managing data between data systems
Patent No. 9754236
Inventor(s): Kenneth M. Benner (Frisco, TX), Kim S. Klieger (Allen, TX), Kok-Wai Looi (Plano, TX)
Assignee(s): Oracle International Corporation (Redwood Shores, CA)
Law Firm: Invoke (Local + 4247 other metros)
Application No., Date, Speed: 14051592 on 10/11/2013 (1425 days app to issue)
Abstract: The present disclosure provides for managing data between data systems. A request, originating from a management system, is received by a unified inventory management system. Such a request comprises a request for inventory from one or more inventory systems. A first inventory system is identified. The first inventory system manages a first portion of inventory needed to fulfill the request. Thereafter, a second inventory system is identified. The second inventory system manages a second portion of inventory that is also needed to fulfill the request.
[G06Q] DATA PROCESSING SYSTEMS OR METHODS, SPECIALLY ADAPTED FOR ADMINISTRATIVE, COMMERCIAL, FINANCIAL, MANAGERIAL, SUPERVISORY OR FORECASTING PURPOSES; SYSTEMS OR METHODS SPECIALLY ADAPTED FOR ADMINISTRATIVE, COMMERCIAL, FINANCIAL, MANAGERIAL, SUPERVISORY OR FORECASTING PURPOSES, NOT OTHERWISE PROVIDED FOR [2006.01]
Geo-location based authentication in a mobile point-of-sale terminal
Patent No. 9754255
Inventor(s): Donald W. Loomis (Coppell, TX), Edward Tangkwai Ma (Plano, TX), Robert Robert Muchsel (Addison, TX)
Assignee(s): Maxim Integrated Products, Inc. (San Jose, CA)
Law Firm: North Weber Baugh LLP (1 non-local offices)
Application No., Date, Speed: 13861953 on 04/12/2013 (1607 days app to issue)
Abstract: The invention relates to authentication in mobile financial transactions, and more particularly, to systems, devices and methods of employing a location tracking function within a mobile device for the purpose of authenticating a user and a trusted transaction when this mobile device is configured to a mobile point-of-sale (POS) terminal. Authentication is primarily implemented by a secure element integrated within the mobile device based on comparison between captured geo-location data and some known information, such as a retailer address, this user’s behavior pattern and shopping habit, that may be derived from the geo-location data. In the secure element, a secure memory stores a plurality of geo-location data from which a secure processor generates information concerning a behavior pattern or a shopping habit of the user. A V/A unit receives a real-time geo-location of the mobile device, and thereby, verifies the user or the trusted transaction according to the generated information.
[G06Q] DATA PROCESSING SYSTEMS OR METHODS, SPECIALLY ADAPTED FOR ADMINISTRATIVE, COMMERCIAL, FINANCIAL, MANAGERIAL, SUPERVISORY OR FORECASTING PURPOSES; SYSTEMS OR METHODS SPECIALLY ADAPTED FOR ADMINISTRATIVE, COMMERCIAL, FINANCIAL, MANAGERIAL, SUPERVISORY OR FORECASTING PURPOSES, NOT OTHERWISE PROVIDED FOR [2006.01]
Composite street sign with integral electrical wiring and integrated power supply
Patent No. 9754519
Inventor(s): A. Lee Finley (Fort Worth, TX), Adam R. Fakhari (Fort Worth, TX), M. John Fakhari (Fort Worth, TX)
Assignee(s): ALF OPERATING PARTNERS, LTD. (Fort Worth, TX)
Law Firm: Erickson Kernell IP, LLC (1 non-local offices)
Application No., Date, Speed: 15198021 on 06/30/2016 (432 days app to issue)
Abstract: A street sign assembly is fabricated from a composite material having at least one panel for displaying indicia such as street names. Electrical conductors are embedded into the panel to permit attachment and electrical coupling of an integrated power supply module, lights and other electrical devices thereto. The integrated power supply module includes a solar panel and battery in a single weatherproof enclosure that is attachable to the panel. The battery is recharged by the solar panel and power is provided from the module through electrical leads that contact the embedded electrical conductors in the panel.
[G09F] DISPLAYING; ADVERTISING; SIGNS; LABELS OR NAME-PLATES; SEALS
Bit line charging for a device
Patent No. 9754645
Inventor(s): Anirudh Amarnath (San Jose, CA), Tai-Yuan Tseng (Milpitas, CA)
Assignee(s): SANDISK TECHNOLOGIES LLC (Plano, TX)
Law Firm: Kunzler Law Group, PC (1 non-local offices)
Application No., Date, Speed: 14924498 on 10/27/2015 (679 days app to issue)
Abstract: An apparatus includes a first bit line coupled to a first storage element and a second bit line coupled to a second storage element. A first bit line charging circuit is coupled to the first bit line and is configured to charge the first bit line to a first bias voltage of multiple bias voltages based on a first programming state. A second bit line charging circuit is coupled to the second bit line and is configured to charge the second bit line to a second bias voltage of the multiple bias voltages based on a second programming state. The second programming state is different than the first programming state.
[G11C] STATIC STORES (information storage based on relative movement between record carrier and transducer G11B; semiconductor devices for storage H01L, e.g. H01L 27/108-H01L 27/11597; pulse technique in general H03K, e.g. electronic switches H03K 17/00)
Vacancy-modulated conductive oxide resistive RAM device including an interfacial oxygen source layer
Patent No. 9754665
Inventor(s): Christopher J. Petti (Mountain View, CA), Kun Hou (Milpitas, CA), Yangyin Chen (Leuven, , BE)
Assignee(s): SANDISK TECHNOLOGIES LLC (Plano, TX)
Law Firm: The Marbury Group PLLC (3 non-local offices)
Application No., Date, Speed: 15228216 on 08/04/2016 (397 days app to issue)
Abstract: A vacancy-modulated conductive oxide (VMCO) resistive random access memory (ReRAM) device includes at least one interfacial layer between a semiconductor portion and a titanium oxide portion of a resistive memory element. The at least one interfacial layer includes an oxygen reservoir that can store oxygen atoms during operation of the resistive memory element. The at least one interfacial layer can include an interfacial metal oxide layer, a metal layer, and optionally, a ruthenium layer.
[G11C] STATIC STORES (information storage based on relative movement between record carrier and transducer G11B; semiconductor devices for storage H01L, e.g. H01L 27/108-H01L 27/11597; pulse technique in general H03K, e.g. electronic switches H03K 17/00)
Three-dimensional NAND non-volatile memory and DRAM memory devices on a single substrate
Patent No. 9754667
Inventor(s): Johann Alsmeier (San Jose, CA)
Assignee(s): SanDisk Technologies LLC (Plano, TX)
Law Firm: Vierra Magen Marcus LLP (1 non-local offices)
Application No., Date, Speed: 14935188 on 11/06/2015 (669 days app to issue)
Abstract: A three-dimensional NAND stacked non-volatile memory array and a DRAM memory array are provided. The three-dimensional NAND stacked non-volatile memory array and the DRAM memory array are integrated on a single substrate.
[G11C] STATIC STORES (information storage based on relative movement between record carrier and transducer G11B; semiconductor devices for storage H01L, e.g. H01L 27/108-H01L 27/11597; pulse technique in general H03K, e.g. electronic switches H03K 17/00)
Managing a network element operating on a network
Patent No. 9755887
Inventor(s): William Charles Easttom (McKinney, TX)
Assignee(s): Open Invention Network LLC (Durham, NC)
Law Firm: Haynes and Boone, LLP (Local + 13 other metros)
Application No., Date, Speed: 14471581 on 08/28/2014 (1104 days app to issue)
Abstract: Disclosed are an apparatus and method of managing network elements operating on a network. One example method may include transmitting a request to receive at least one activity parameter of a network element operating on the network and monitoring the at least one activity parameter of the network element. The method may include determining whether a usage value of the at least one activity parameter exceeds a predetermined threshold usage value and transmitting a corrective function message to the network element responsive to determining that the usage value of the at least one activity parameter exceeds the predetermined threshold value. The method may further include performing a corrective function to reduce the usage value of the at least one activity parameter.
[G06F] ELECTRIC DIGITAL DATA PROCESSING (computer systems based on specific computational models G06N)
Provisioning virtual optical networks
Patent No. 9755893
Inventor(s): Paparao Palacharla (Richardson, TX)
Assignee(s): FUJITSU LIMITED (Kawasaki, , JP)
Law Firm: Maschoff Brennan (4 non-local offices)
Application No., Date, Speed: 14619029 on 02/10/2015 (938 days app to issue)
Abstract: A method of provisioning a network may include receiving a mapping solution for one or more virtual optical network (VON) requests including virtual nodes and virtual links. The mapping solution may include one mapping pattern for each VON request and each mapping pattern may include an ordered list of physical nodes. The method may also include formulating inequality constraint equations based on physical links that are shared by multiple virtual links. The method may also include formulating range constraint equations for each virtual link based on a physical link for each virtual link with a lowest number of optical transmission slots such that each virtual link occupy a same optical transmission slot across all physical links that are traversed by the virtual link. The inequality and range constraint equations may be solved with satisfiability modulo theories to obtain a slot assignment solution.
[G06F] ELECTRIC DIGITAL DATA PROCESSING (computer systems based on specific computational models G06N)
Predictive cloud provisioning based on human behaviors and heuristics
Patent No. 9755923
Inventor(s): Karl J. Cama (Coppell, TX)
Assignee(s): INTERNATIONAL BUSINESS MACHINES CORPORATION (Armonk, NY)
Law Firm: Cantor Colburn LLP (7 non-local offices)
Application No., Date, Speed: 14055474 on 10/16/2013 (1420 days app to issue)
Abstract: A system for predictively provisioning cloud resources based on human behaviors and heuristics includes a computer processor and logic executable by the computer processor. The logic is configured to implement a method. The method includes monitoring a collection of events relating to a customer application as well as monitoring an infrastructure load on resources for the customer application. A causal relationship is evaluated between an event and the infrastructure load. A predictive rule is then constructed based on the causal relationship. Resource requirements are anticipated based on the predictive rule and a provisioning of resources in a service domain is requested for the anticipated resource requirements, according to exemplary embodiments.
[G06F] ELECTRIC DIGITAL DATA PROCESSING (computer systems based on specific computational models G06N)
Virtual resource mapping mechanisms
Patent No. 9755987
Inventor(s): Jeff Wheeler (Battle Mountain, NV)
Assignee(s): Futurewei Technologies, Inc. (Plano, TX)
Law Firm: Slater Matsil, LLP (Local + 1 other metros)
Application No., Date, Speed: 14173503 on 02/05/2014 (1308 days app to issue)
Abstract: A task-oriented virtual resource can be dynamically mapped to multiple physical resource types in order to better align resource allocation mechanisms. Mappings between the task-oriented virtual resource and the physical resource types may be managed in accordance with a workload associated with an underlying task being performed by the network on behalf of a user. The number of physical resource units that are mapped to the task-oriented virtual resource may be varied in accordance with one or more workload conditions using a finite state machine. The finite state machine can include nodes representing static or dynamic states for each physical resource type. The nodes may be interconnected via relationships, which can be governed by the workload conditions. Relationships between nodes may be modeled using hybrid graphs.
[G06F] ELECTRIC DIGITAL DATA PROCESSING (computer systems based on specific computational models G06N)
Methods, systems and computer program products for secure access to information
Patent No. 9756028
Inventor(s): Gary A. Toretti (Flower Mound, TX)
Assignee(s): ATT Intellectual Property 1, L.P. (Atlanta, GA)
Law Firm: Hartman Citrin LLC (1 non-local offices)
Application No., Date, Speed: 14105556 on 12/13/2013 (1362 days app to issue)
Abstract: Methods for secure communications are provided. The methods include creating a safe user account on a secure access system, wherein creating an account includes provision of at least one strong authenticator to be associated with a user of the secure access system; providing a unique login and the at least one strong authenticator associated with the user to the secure access system to gain access to information associated with a referring organization, the referring organization being registered with the secure access system; and accessing the information associated with the referring organization based on the unique login and the at least one strong authenticator provided to the secure access system. Related systems and computer program products are also provided.
[G06F] ELECTRIC DIGITAL DATA PROCESSING (computer systems based on specific computational models G06N)
Content delivery network referral
Patent No. 9756124
Inventor(s): Scott Ferguson (Allen, TX)
Assignee(s): Juniper Networks, Inc. (Sunnyvale, CA)
Law Firm: Shumaker Sieffert, P.A. (3 non-local offices)
Application No., Date, Speed: 15012638 on 02/01/2016 (582 days app to issue)
Abstract: In general, techniques are described for managing content request referrals by keying content requests to a composite key data structure that maps end-user address prefixes and content identifiers to content delivery network servers of downstream CDNs. In one example, a CDN exchange includes a communication module to receive first network prefixes and first content identifiers from a first secondary content delivery network and to receive second network prefixes and second content identifiers from a second secondary content delivery network. A request router of the CDN exchange redirects the content request to the first secondary content delivery network or to the second secondary content delivery network according to a network address of the end user device and a content identifier for the content request.
[G06F] ELECTRIC DIGITAL DATA PROCESSING (computer systems based on specific computational models G06N)
System and method for routing media
Patent No. 9756362
Inventor(s): Donald H. Bate (Plano, TX)
Assignee(s): SITO Mobile RD IP, LLC (Jersey City, NJ)
Law Firm: Polsinelli PC (Local + 14 other metros)
Application No., Date, Speed: 15451198 on 03/06/2017 (183 days app to issue)
Abstract: A video streaming system comprises a plurality of servers, each of the plurality of servers including one or more processors and a memory. One or more of the plurality of servers receive video content from a video content owner and store the received video content in a plurality of geographically separated resources of a content distribution network. The one or more of the plurality of servers receive from a client device via a packet-based telecommunication network signaling to have the stored video content streamed to the client device from one or more of the resources of the content distribution network. In response to the received signaling, the one or more of the plurality of servers transmit to the client device, via the packet-based telecommunication network and in one or more files, each of the one or more files being in a format compatible with a media player on the client device, (i) an identification of one or more of the resources of the content distribution network available to facilitate streaming of one or more segments of the stored video content to the client device, the identification being dependent at least in part on a relationship between a geographic location of the client device and geographic locations of the resources of the content distribution network, and (ii) an identification of an advertising server, the identification of the advertising server being dependent at least in part on a relationship between the geographic location of the client devi
[G06F] ELECTRIC DIGITAL DATA PROCESSING (computer systems based on specific computational models G06N)
E L E C T R I C I T Y

[PATENT NO. 9754724 IMAGE VIA USPTO]
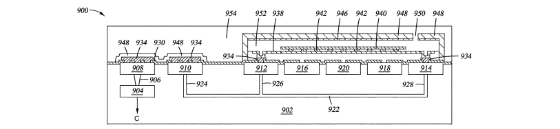
Stress control during processing of a MEMS digital variable capacitor (DVC)
Patent No. 9754724
Inventor(s): Richard L. Knipe (McKinney, TX)
Assignee(s): CAVENDISH KINETICS, INC. (San Jose, CA)
Law Firm: Patterson Sheridan, LLP (Local + 4 other metros)
Application No., Date, Speed: 14898678 on 06/04/2014 (1189 days app to issue)
Abstract: The present invention generally relates to a MEMS digital variable capacitor (DVC) ([b]900[/b]) and a method for manufacture thereof. The movable plate ([b]938[/b]) within a MEMS DVC should have the same stress level to ensure proper operation of the MEMS DVC. To obtain the same stress level, the movable plate is decoupled from CMOS ground during fabrication. The movable plate is only electrically coupled to CMOS ground after the plate has been completely formed. The coupling occurs by using the same layer ([b]948[/b]) that forms the pull-up electrode as the layer that electrically couples the movable plate to CMOS ground. As the same layer couples the movable plate to CMOS ground and also provides the pull-up electrode for the MEMS DVC, the deposition occurs in the same processing step. By electrically coupling the movable plate to CMOS ground after formation, the stress in each of the layers of the movable plate can be substantially identical.
[H01L] SEMICONDUCTOR DEVICES; ELECTRIC SOLID STATE DEVICES NOT OTHERWISE PROVIDED FOR (use of semiconductor devices for measuring G01; resistors in general H01C; magnets, inductors, transformers H01F; capacitors in general H01G; electrolytic devices H01G 9/00; batteries, accumulators H01M; waveguides, resonators, or lines of the waveguide type H01P; line connectors, current collectors H01R; stimulated-emission devices H01S; electromechanical resonators H03H; loudspeakers, microphones, gramophone pick-ups or like acoustic electromechanical transducers H04R; electric light sources in general H05B; printed circuits, hybrid circuits, casings or constructional details of electrical apparatus, manufacture of assemblages of electrical components H05K; use of semiconductor devices in circuits having a particular application, see the subclass for the application) [2] <
Advanced gameplay system
Patent No. 9751004
Inventor(s): Carey Leigh Lotzer (Sachse, TX)
Assignee(s): Oen Invention Network LLC (Durham, NC)
Law Firm: Haynes and Boone, LLP (Local + 13 other metros)
Application No., Date, Speed: 13922334 on 06/20/2013 (1538 days app to issue)
Abstract: The present invention enhances the player’s gameplay visual, feedback and other experiences by taking advantage of optical adapters, feedback mechanics, advancements in theatrical audio, frame rate throttle, meta-file object framework for storage and retrieval, calibration advancements, vocal command enhancements, voice object lookups, facial/body scan, color/clothing coordination, party or celebration capabilities, noise cancellation, interactive object placement, heart rate monitor, pan-tilt-zoom camera advances, cooperative gameplay advances and programming advancements.
[H04N] PICTORIAL COMMUNICATION, e.g. TELEVISION [4]
Three-dimensional memory device containing an aluminum oxide etch stop layer for backside contact structure and method of making thereof
Patent No. 9754820
Inventor(s): Masanori Tsutsumi (Yokkaichi, , JP), Motoki Kawasaki (Yokkaichi, , JP), Rahul Sharangpani (Fremont, CA)
Assignee(s): SANDISK TECHNOLOGIES LLC (Plano, TX)
Law Firm: The Marbury Law Group PLLC (3 non-local offices)
Application No., Date, Speed: 15012124 on 02/01/2016 (582 days app to issue)
Abstract: Collateral etching of a dielectric material around a trench during formation of a substrate contact via structure can be avoided employing an aluminum oxide layer. The aluminum oxide layer functions as an etch stop layer during an anisotropic etch that removes horizontal portions of an insulating material layer to form an insulating spacer. The aluminum oxide layer may be a conformal or a non-conformal material layer, and may, or may not, include a horizontal portion that overlies an alternating stack of insulating layers and electrically conductive layers. Electrical shorts caused by widening of the top portion of the trench can be avoided through use of the aluminum oxide layer. Memory stack structures can extend through the alternating stack to provide a three-dimensional memory stack structure. A source region can be formed underneath the trench, and the substrate contact via structure can be employed as a source contact via structure.
[H01L] SEMICONDUCTOR DEVICES; ELECTRIC SOLID STATE DEVICES NOT OTHERWISE PROVIDED FOR (use of semiconductor devices for measuring G01; resistors in general H01C; magnets, inductors, transformers H01F; capacitors in general H01G; electrolytic devices H01G 9/00; batteries, accumulators H01M; waveguides, resonators, or lines of the waveguide type H01P; line connectors, current collectors H01R; stimulated-emission devices H01S; electromechanical resonators H03H; loudspeakers, microphones, gramophone pick-ups or like acoustic electromechanical transducers H04R; electric light sources in general H05B; printed circuits, hybrid circuits, casings or constructional details of electrical apparatus, manufacture of assemblages of electrical components H05K; use of semiconductor devices in circuits having a particular application, see the subclass for the application) [2]
Uniform thickness blocking dielectric portions in a three-dimensional memory structure
Patent No. 9754956
Inventor(s): Masanori Tsutsumi (Yokkaichi, , JP), Shinsuke Yada (Yokkaichi, , JP)
Assignee(s): SANDISK TECHNOLOGIES LLC (Plano, TX)
Law Firm: The Marbury Law Group PLLC (3 non-local offices)
Application No., Date, Speed: 14560444 on 12/04/2014 (1006 days app to issue)
Abstract: A memory opening is formed through a stack of alternating layers comprising first material layers and second material layers. Sidewall surfaces of the second material layers are laterally recessed with respect to sidewall surfaces of the first material layers within the memory opening. Annular semiconductor material portions can be formed by depositing a semiconductor material from the sidewall surfaces of the second material layers while the semiconductor material does not grow from surfaces of the first material layers. Optionally, an inner portion of each annular semiconductor material portion can be converted into an annular dielectric material portion that includes a dielectric material. A memory film is formed in the memory opening. During removal of the second material layers, the annular semiconductor material portions can be employed as an etch stop material, thereby minimizing collateral etching of the memory film or annular dielectric material portions.
[H01L] SEMICONDUCTOR DEVICES; ELECTRIC SOLID STATE DEVICES NOT OTHERWISE PROVIDED FOR (use of semiconductor devices for measuring G01; resistors in general H01C; magnets, inductors, transformers H01F; capacitors in general H01G; electrolytic devices H01G 9/00; batteries, accumulators H01M; waveguides, resonators, or lines of the waveguide type H01P; line connectors, current collectors H01R; stimulated-emission devices H01S; electromechanical resonators H03H; loudspeakers, microphones, gramophone pick-ups or like acoustic electromechanical transducers H04R; electric light sources in general H05B; printed circuits, hybrid circuits, casings or constructional details of electrical apparatus, manufacture of assemblages of electrical components H05K; use of semiconductor devices in circuits having a particular application, see the subclass for the application) [2]
Three-dimensional memory devices having a shaped epitaxial channel portion and method of making thereof
Patent No. 9754958
Inventor(s): Jayavel Pachamuthu (San Jose, CA), Raghuveer S. Makala (Campbell, CA), Sateesh Koka (Milpitas, CA), Somesh Peri (San Jose, CA)
Assignee(s): SANDISK TECHNOLOGIES LLC (Plano, TX)
Law Firm: The Marbury Law Group PLLC (3 non-local offices)
Application No., Date, Speed: 14927708 on 10/30/2015 (676 days app to issue)
Abstract: An alternating stack of insulating layers and sacrificial material layers is formed over a substrate. A dielectric collar structure can be formed prior to formation of an epitaxial channel portion, and can be employed to protect the epitaxial channel portion during replacement of the sacrificial material layers with electrically conductive layers. Exposure of the epitaxial channel portion to an etchant during removal of the sacrificial material layers is avoided through use of the dielectric collar structure. Additionally or alternatively, facets on the top surface of the epitaxial channel portion can be reduced or eliminated by forming the epitaxial channel portion to a height that exceeds a target height, and by recessing a top portion of the epitaxial channel portion. The recess etch can remove protruding portions of the epitaxial channel portion at a greater removal rate than a non-protruding portion.
[H01L] SEMICONDUCTOR DEVICES; ELECTRIC SOLID STATE DEVICES NOT OTHERWISE PROVIDED FOR (use of semiconductor devices for measuring G01; resistors in general H01C; magnets, inductors, transformers H01F; capacitors in general H01G; electrolytic devices H01G 9/00; batteries, accumulators H01M; waveguides, resonators, or lines of the waveguide type H01P; line connectors, current collectors H01R; stimulated-emission devices H01S; electromechanical resonators H03H; loudspeakers, microphones, gramophone pick-ups or like acoustic electromechanical transducers H04R; electric light sources in general H05B; printed circuits, hybrid circuits, casings or constructional details of electrical apparatus, manufacture of assemblages of electrical components H05K; use of semiconductor devices in circuits having a particular application, see the subclass for the application) [2]
Multi-tier memory stack structure containing two types of support pillar structures
Patent No. 9754963
Inventor(s): Kota Funayama (Yokkaichi, , JP), Takeshi Kawamura (Yokkaichi, , JP)
Assignee(s): SANDISK TECHNOLOGIES LLC (Plano, TX)
Law Firm: The Marbury Law Group PLLC (3 non-local offices)
Application No., Date, Speed: 15243260 on 08/22/2016 (379 days app to issue)
Abstract: A first tier structure including a first alternating stack of first insulating layers and first sacrificial material layers is formed over a substrate. First support pillar structures are formed through the first tier structure. A second tier structure including a second alternating stack of second insulating layers and second sacrificial material layers is formed over the first tier structure. Memory stack structures and second support pillar structures are formed through the second tier structure. The first and second sacrificial material layers are replaced with first and second electrically conductive layers while the first support pillar structures, the second support pillar structures, and the memory stack structures provide structural support to the first and second insulating layers. By limiting the spatial extent of the first support pillar structures within the first tier structure, electrical short to backside contact via structures can be reduced.
[H01L] SEMICONDUCTOR DEVICES; ELECTRIC SOLID STATE DEVICES NOT OTHERWISE PROVIDED FOR (use of semiconductor devices for measuring G01; resistors in general H01C; magnets, inductors, transformers H01F; capacitors in general H01G; electrolytic devices H01G 9/00; batteries, accumulators H01M; waveguides, resonators, or lines of the waveguide type H01P; line connectors, current collectors H01R; stimulated-emission devices H01S; electromechanical resonators H03H; loudspeakers, microphones, gramophone pick-ups or like acoustic electromechanical transducers H04R; electric light sources in general H05B; printed circuits, hybrid circuits, casings or constructional details of electrical apparatus, manufacture of assemblages of electrical components H05K; use of semiconductor devices in circuits having a particular application, see the subclass for the application) [2]
Vertical thin film transistors with surround gates
Patent No. 9754999
Inventor(s): Kengo Kajiwara (Yokkaichi, , JP), Manabu Hayashi (Yokkaichi, , JP), Ryousuke Itou (Yokkaichi, , JP), Seje Takaki (Yokkaichi, , JP), Takuro Maede (Yokkaichi, , JP), Tetsuya Yamada (Yokkaichi, , JP), Yusuke Oda (Nagoya, , JP)
Assignee(s): SanDisk Technologies LLC (Plano, TX)
Law Firm: Vierra Magen Marcus LLP (1 non-local offices)
Application No., Date, Speed: 15240998 on 08/18/2016 (383 days app to issue)
Abstract: A method is provided that includes forming a transistor by forming a gate disposed in a first direction above a substrate, the gate including a first bridge portion and a second bridge portion, forming the first bridge portion extending in the first direction and disposed near a top of the gate, and forming the second bridge portion extending in the first direction and disposed near a bottom of the gate.
[H01L] SEMICONDUCTOR DEVICES; ELECTRIC SOLID STATE DEVICES NOT OTHERWISE PROVIDED FOR (use of semiconductor devices for measuring G01; resistors in general H01C; magnets, inductors, transformers H01F; capacitors in general H01G; electrolytic devices H01G 9/00; batteries, accumulators H01M; waveguides, resonators, or lines of the waveguide type H01P; line connectors, current collectors H01R; stimulated-emission devices H01S; electromechanical resonators H03H; loudspeakers, microphones, gramophone pick-ups or like acoustic electromechanical transducers H04R; electric light sources in general H05B; printed circuits, hybrid circuits, casings or constructional details of electrical apparatus, manufacture of assemblages of electrical components H05K; use of semiconductor devices in circuits having a particular application, see the subclass for the application) [2]
Trench epitaxial growth for a FinFET device having reduced capacitance
Patent No. 9755031
Inventor(s): Chun-Chen Yeh (Clifton Park, NY), Qing Liu (Watervliet, NY), Ruilong Xie (Schenectady, NY), Xiuyu Cai (Niskayuna, NY)
Assignee(s): STMicroelectronics, Inc. (Coppell, TX)
Law Firm: Gardere Wynne Sewell LLP (Local + 1 other metros)
Application No., Date, Speed: 14577431 on 12/19/2014 (991 days app to issue)
Abstract: A FinFET device includes a semiconductor fin, a gate electrode extending over a channel of the fin and sidewall spacers on each side of the gate electrode. A dielectric material is positioned on each side of a bottom portion of said fin, with an oxide material on each side of the fin overlying the dielectric material. A recessed region, formed in the fin on each side of the channel region, is delimited by the oxide material. A raised source region fills the recessed region and extends from the fin on a first side of the gate electrode to cover the oxide material to a height which is in contact with the sidewall spacer. A raised drain region fills the recessed region and extends from the fin on a second side of the gate electrode to cover the oxide material to a height which is in contact with the sidewall spacer.
[H01L] SEMICONDUCTOR DEVICES; ELECTRIC SOLID STATE DEVICES NOT OTHERWISE PROVIDED FOR (use of semiconductor devices for measuring G01; resistors in general H01C; magnets, inductors, transformers H01F; capacitors in general H01G; electrolytic devices H01G 9/00; batteries, accumulators H01M; waveguides, resonators, or lines of the waveguide type H01P; line connectors, current collectors H01R; stimulated-emission devices H01S; electromechanical resonators H03H; loudspeakers, microphones, gramophone pick-ups or like acoustic electromechanical transducers H04R; electric light sources in general H05B; printed circuits, hybrid circuits, casings or constructional details of electrical apparatus, manufacture of assemblages of electrical components H05K; use of semiconductor devices in circuits having a particular application, see the subclass for the application) [2]
Embedded shape sige for strained channel transistors
Patent No. 9755051
Inventor(s): John H. Zhang (Altamont, NY), Pietro Montanini (Albany, NY)
Assignee(s): STMicroelectronics, Inc. (Coppell, TX)
Law Firm: Seed IP Law Group LLP (1 non-local offices)
Application No., Date, Speed: 14969911 on 12/15/2015 (630 days app to issue)
Abstract: An integrated circuit die includes a silicon substrate. PMOS and NMOS transistors are formed on the silicon substrate. The carrier mobilities of the PMOS and NMOS transistors are increased by introducing tensile stress into the channel regions of the NMOS transistors and compressive stress into the channel regions of the PMOS transistors. Tensile stress is introduced by including a region of SiGe below the channel region of the NMOS transistors. Compressive stress is introduced by including regions of SiGe in the source and drain regions of the PMOS transistors.
[H01L] SEMICONDUCTOR DEVICES; ELECTRIC SOLID STATE DEVICES NOT OTHERWISE PROVIDED FOR (use of semiconductor devices for measuring G01; resistors in general H01C; magnets, inductors, transformers H01F; capacitors in general H01G; electrolytic devices H01G 9/00; batteries, accumulators H01M; waveguides, resonators, or lines of the waveguide type H01P; line connectors, current collectors H01R; stimulated-emission devices H01S; electromechanical resonators H03H; loudspeakers, microphones, gramophone pick-ups or like acoustic electromechanical transducers H04R; electric light sources in general H05B; printed circuits, hybrid circuits, casings or constructional details of electrical apparatus, manufacture of assemblages of electrical components H05K; use of semiconductor devices in circuits having a particular application, see the subclass for the application) [2]
Surface devices within a vertical power device
Patent No. 9755058
Inventor(s): Thomas E. Harrington, III (Carrollton, TX), Zhijun Qu (Frisco, TX)
Assignee(s): D3 Semiconductor LLC (Addison, TX)
Law Firm: Schultz Associates, P.C. (Local)
Application No., Date, Speed: 15055333 on 02/26/2016 (557 days app to issue)
Abstract: A semiconductor device comprises a vertical power device, such as a superjunction MOSFET, an IGBT, a diode, and the like, and a surface device that comprises one or more lateral devices that are electrically active along a top surface of the semiconductor device.
[H01L] SEMICONDUCTOR DEVICES; ELECTRIC SOLID STATE DEVICES NOT OTHERWISE PROVIDED FOR (use of semiconductor devices for measuring G01; resistors in general H01C; magnets, inductors, transformers H01F; capacitors in general H01G; electrolytic devices H01G 9/00; batteries, accumulators H01M; waveguides, resonators, or lines of the waveguide type H01P; line connectors, current collectors H01R; stimulated-emission devices H01S; electromechanical resonators H03H; loudspeakers, microphones, gramophone pick-ups or like acoustic electromechanical transducers H04R; electric light sources in general H05B; printed circuits, hybrid circuits, casings or constructional details of electrical apparatus, manufacture of assemblages of electrical components H05K; use of semiconductor devices in circuits having a particular application, see the subclass for the application) [2]
LED luminaire with integrated battery backup
Patent No. 9755448
Inventor(s): James Shaw (Plano, TX)
Assignee(s): REVOLUTION LIGHTING TECHNOLOGIES, INC. (Stamford, CT)
Law Firm: Barlow, Josephs Holmes, Ltd. (1 non-local offices)
Application No., Date, Speed: 14880298 on 10/12/2015 (694 days app to issue)
Abstract: An LED luminaire with an integrated battery backup is divided into a hidden infrastructure portion and a decorative body portion. The luminaire body has a main lighting deck with at least one LED mounted thereon and a decorative skirt extending from the main lighting deck. A diffuser panel is received over the main lighting deck. The hidden infrastructure portion includes a light fixture housing configured and arranged to be mounted within a building infrastructure, an emergency battery backup assembly received within the light fixture housing wall, and a housing fixture bracket secured within the light fixture housing to support the emergency backup assembly in the upper portion of the light fixture housing.
[H02J] CIRCUIT ARRANGEMENTS OR SYSTEMS FOR SUPPLYING OR DISTRIBUTING ELECTRIC POWER; SYSTEMS FOR STORING ELECTRIC ENERGY (power supply circuits for apparatus for measuring X-radiation, gamma radiation, corpuscular radiation or cosmic radiation G01T 1/175; electric power supply circuits specially adapted for use in electronic time-pieces with no moving parts G04G 19/00; for digital computers G06F 1/18; for discharge tubes H01J 37/248; circuits or apparatus for the conversion of electric power, arrangements for control or regulation of such circuits or apparatus H02M; interrelated control of several motors, control of a prime-mover/generator combination H02P; control of high-frequency power H03L; additional use of power line or power network for transmission of information H04B)
High efficiency high frequency resonant power conversion
Patent No. 9755534
Inventor(s): Hengchun Mao (Allen, TX)
Assignee(s): Nuvolta Technologies, Inc. (Milpitas, CA)
Law Firm: Slater Matsil, LLP (Local + 1 other metros)
Application No., Date, Speed: 14177049 on 02/10/2014 (1303 days app to issue)
Abstract: A power converter comprises a switch network coupled to an input voltage, a power transformer having a primary winding and a secondary winding, wherein the primary winding is coupled to the switch network, and the secondary winding is coupled to a rectifier, wherein the rectifier is coupled to an output voltage, a primary resonant tank having a first resonant capacitor and a first resonant frequency, and coupled to the primary winding of the power transformer and the switch network, and a regulation circuit configured to control the output voltage of the power converter to be substantially proportional to the input voltage and the switch network to operate at a frequency substantially close to the first resonant frequency.
[H02M] APPARATUS FOR CONVERSION BETWEEN AC AND AC, BETWEEN AC AND DC, OR BETWEEN DC AND DC, AND FOR USE WITH MAINS OR SIMILAR POWER SUPPLY SYSTEMS; CONVERSION OF DC OR AC INPUT POWER INTO SURGE OUTPUT POWER; CONTROL OR REGULATION THEREOF (conversion of current or voltage specially adapted for use in electronic time-pieces with no moving parts G04G 19/02; systems for regulating electric or magnetic variables in general, e.g. using transformers, reactors or choke coils, combination of such systems with static converters G05F; for digital computers G06F 1/00; transformers H01F; connection or control of one converter with regard to conjoint operation with a similar or other source of supply H02J; dynamo-electric converters H02K 47/00; controlling transformers, reactors or choke coils, control or regulation of electric motors, generators or dynamo-electric converters H02P; pulse generators H03K) [5]
Using fractional delay computations to improve intermodulation performance
Patent No. 9755583
Inventor(s): Alan Pereira (Irving, TX), Sandeep Mehta (Irving, TX), Shavantha Kularatna (Flower Mound, TX)
Assignee(s): Nokia Solutions and Networks Oy (Espoo, , FI)
Law Firm: Harrington Smith (6 non-local offices)
Application No., Date, Speed: 15026324 on 10/01/2014 (1070 days app to issue)
Abstract: Enhancing the intermodulation performance of an RF power amplifier by determining a coarse time delay represented by an integer TI; determining a reference point for a transmitted signal waveform of the RF power amplifier; shifting the waveform by a set of offsets including a plurality of non-integer fractional steps; correlating the transmitted signal waveform with a feedback signal waveform to obtain a respective correlation value for each of corresponding fractional steps; obtaining an accurate fractional delay value by selecting a fractional step having a highest respective correlation value; applying the obtained correct fractional delay value to the transmitted signal waveform to provide a compensated transmitted signal waveform and combining the compensated transmitted signal waveform with the feedback signal waveform to reduce at least one intermodulation product of the RF power amplifier.
[H04B] TRANSMISSION [4]
Fixed gain amplifier circuit
Patent No. 9755597
Inventor(s): Davy Choi (Carrollton, TX)
Assignee(s): STMicroelectronics, Inc. (Coppell, TX)
Law Firm: Gardere Wynne Sewell LLP (Local + 1 other metros)
Application No., Date, Speed: 14971359 on 12/16/2015 (629 days app to issue)
Abstract: An instrumentation amplifier includes first and second resistors for gain setting. The operational amplifiers within the instrumentation amplifier include selectively enabled current drive sources coupled to the amplifier output. The first and second resistors have variable resistances. A control circuit is configured to select the variable resistances of the first and second resistors to implement a fixed gain for the instrumentation amplifier and further selectively enable the current drive sources. The control circuit receives an indication of a downstream programmable gain (for example, from a downstream programmable gain amplifier). The variable resistances of the first and second resistors are selected to be scaled inversely with respect to the downstream programmable gain and the current drive sources are enabled proportionately with respect to the downstream programmable gain.
[H03F] AMPLIFIERS (measuring, testing G01R; optical parametric amplifiers G02F; circuit arrangements with secondary emission tubes H01J 43/30; masers, lasers H01S; dynamo-electric amplifiers H02K; control of amplification H03G; coupling arrangements independent of the nature of the amplifier, voltage dividers H03H; amplifiers capable only of dealing with pulses H03K; repeater circuits in transmission lines H04B 3/36, H04B 3/58; application of speech amplifiers in telephonic communication H04M 1/60, H04M 3/40)
Transmission method and transmission apparatus
Patent No. 9755710
Inventor(s): Akihiko Matsuoka (Kanagawa, , JP), Kiyotaka Kobayashi (Kanagawa, , JP), Masayuki Orihashi (Kanagawa, , JP), Yutaka Murakami (Osaka, , JP)
Assignee(s): WiFi One, LLC (Plano, TX)
Law Firm: Nixon Vanderhye P.C. (2 non-local offices)
Application No., Date, Speed: 14971001 on 12/16/2015 (629 days app to issue)
Abstract: A transmission apparatus includes a plurality of antennas and a transmission scheme determination processor that selects one of either a first transmission scheme of transmitting a plurality of signals including a first amount of data in a frame, respectively, from the plurality of antennas, and a second transmission scheme of transmitting a plurality of signals including a second greater amount of data in a frame, respectively, from the plurality of antennas. The apparatus includes a modulation scheme selection processor that selects a modulation scheme among a plurality of modulation schemes and a control processor that controls the transmission scheme determination processor and the modulation scheme selection processor to change the transmission scheme less frequently than the modulation scheme. A transmitter transmits from the plurality of antennas a signal generated based on the selected transmission scheme and the selected modulation scheme.
[H04L] TRANSMISSION OF DIGITAL INFORMATION, e.g. TELEGRAPHIC COMMUNICATION (arrangements common to telegraphic and telephonic communication H04M) [4]
Digital representations of analog signals and control words using different multi-level modulation formats
Patent No. 9755779
Inventor(s): Huaiyu Zeng (Red Bank, NJ), Xiang Liu (Marlboro, NJ)
Assignee(s): Futurewei Technologies, Inc. (Plano, TX)
Law Firm: Conley Rose, P.C. (3 non-local offices)
Application No., Date, Speed: 14853478 on 09/14/2015 (722 days app to issue)
Abstract: A method implemented by a transmitter, comprising encoding digital in-phase and quadrature-phase (IQ) data associated with a plurality of analog signals according to a first multi-level modulation format to produce a modulated IQ signal, encoding control information associated with the plurality of analog signals according to a second multi-level modulation format that is different from the first multi-level modulation format to produce a modulated control signal, aggregating the modulated IQ signal and the modulated control signal via time-division multiplexing (TDM) to produce an aggregated TDM signal, and transmitting the aggregated TDM signal over a communication channel.
[H04B] TRANSMISSION [4]
Method of and system for mobile surveillance and event recording
Patent No. 9756279
Inventor(s): Robert V. Vanman (McKinney, TX), Simon C. Goble (Palo Alto, CA)
Assignee(s): Enforcement Video, LLC (Allen, TX)
Law Firm: Winstead PC (Local + 2 other metros)
Application No., Date, Speed: 12780092 on 05/14/2010 (2671 days app to issue)
Abstract: A data-encoding system includes a source of unencoded data, and a first encoder interoperably coupled to the source, wherein the first encoder is adapted to receive the unencoded data, encode the unencoded data, and output encoded data at a first data rate. The data encoding system further includes a second encoder interoperably coupled to the source, wherein the second encoder is adapted to receive the unencoded data, encode the unencoded data, and output encoded data at a second data rate in which the second data rate exceeds the first data rate. This Abstract is provided to comply with rules requiring an Abstract that allows a searcher or other reader to quickly ascertain subject matter of the technical disclosure. This Abstract is submitted with the understanding that it will not be used to interpret or limit the scope or meaning of the claims. 37 CFR 1.72(b).
[H04N] PICTORIAL COMMUNICATION, e.g. TELEVISION [4]
Screen content coding systems and methods
Patent No. 9756347
Inventor(s): Haoping Yu (Carmel, IN), Meng Xu (Brooklyn, NY), Zhan Ma (San Jose, CA)
Assignee(s): Futurewei Technologies, Inc. (Plano, TX)
Law Firm: Conley Rose, P.C. (3 non-local offices)
Application No., Date, Speed: 14339351 on 07/23/2014 (1140 days app to issue)
Abstract: Presented systems and methods facilitate screen content coding. A system can comprises: a processing component configured to execute coding operations and a storage component configured to store information for the processing component, including the color table and color index map. The coding operations can include: receiving information associated with a plurality of pixels; creating a color table, the color table includes color values (e.g., of the pixels) and corresponding indices; creating a color index map wherein each index of the color map maps a pixel to an index value of the color table; and performing coding operations corresponding to the color table and color index map. In one exemplary implementation, index values of the color table are encoded/decoded during color table and index map coding rather than the actual raw color values for each pixel. Various types of compression and coding can be implemented (e.g., lossless, lossy, intra-prediction, inter-prediction, etc.).
[H04N] PICTORIAL COMMUNICATION, e.g. TELEVISION [4]
Providing information to a mobile device based on an event at a geographical location
Patent No. 9756470
Inventor(s): James N. White (Dallas, TX), Monica Rose Martino (Plano, TX)
Assignee(s): Open Invention Network LLC (Durham, NC)
Law Firm: Haynes and Boone, LLP (Local + 13 other metros)
Application No., Date, Speed: 15397928 on 01/04/2017 (244 days app to issue)
Abstract: A system, method, and computer readable medium for providing information to a mobile device based on an event comprising detecting an occurrence of the event, determining if the event is a specific event and if the event occurred at or near a geographical location and sending an alert of the event to at least one mobile device if the event is the specific event, if the event occurs at or near the geographical location, and if the at least one mobile device is located at or near the geographical location.
[H04W] WIRELESS COMMUNICATION NETWORKS [2009.01]
Method and apparatus for detecting a traffic suppression turning point in a cellular network
Patent No. 9756518
Inventor(s): Baoling S. Sheen (Kildeer, IL), Jin Yang (Bridgewater, NJ), Yanchi Liu (Harrison, NJ)
Assignee(s): Futurewei Technologies, Inc. (Plano, TX)
Law Firm: Slater Matsil, LLP (Local + 1 other metros)
Application No., Date, Speed: 15147622 on 05/05/2016 (488 days app to issue)
Abstract: Methods and apparatus for detecting a traffic suppression turning point in a communications system based on traffic behavior are provided. Models representing relationship between traffic loads and a key performance indicator of a cell or a cluster of cells may be built and tested to generate a set of prediction errors corresponding to a plurality of traffic load ranges. The prediction errors are examined against a criteria to determine a traffic suppression turning point in terms of traffic loads. The models built may also be used to calculate a set of KPI slope values corresponding to different traffic load ranges. The set of KPI slope values are examined against a criteria to determine a traffic suppression turning point in terms of traffic loads.
[H04W] WIRELESS COMMUNICATION NETWORKS [2009.01]
Self-organizing network
Patent No. 9756548
Inventor(s): Colin Gordon Bowdery (Plano, TX)
Assignee(s): AIRCOM INTERNATIONAL LTD (Leatherhead, Surrey, , GB)
Law Firm: ATFirm PLLC (1 non-local offices)
Application No., Date, Speed: 14369195 on 12/21/2012 (1719 days app to issue)
Abstract: A method for optimizing a self organizing network comprising a plurality of cells. The method comprises monitoring performance measurement data indicative of performance of one or more cells in a group of cells in the network, and monitoring trace data indicative of traffic statistics within the cells of the group. The method comprises generating, from the performance management data and the trace data, a plurality of key performance indicators each indicative of performance of an aspect of a cell in the group, and processing the key performance indicators so as to generate a hotspot value indicative of general performance of the cell in the group. The method comprises comparing the hotspot value with a threshold hotspot value, and if the hotspot value is greater than the threshold hotspot value, processing attribute data from the cells in the group so as to generate cause data indicative of a cause associated with the hotspot value exceeding the hotspot threshold value. The method also comprises generating, from the cause data, recommendation data for modifying an attribute of the network, and modifying the attribute of the network based on the recommendation data.
[H04W] WIRELESS COMMUNICATION NETWORKS [2009.01]
System and method for contention-free random access
Patent No. 9756658
Inventor(s): Brian Classon (Palantine, IL), Philippe Satori (Algonquin, IL), Vipul Desai (Palatine, IL)
Assignee(s): Futurewei Technologies, Inc. (Plano, TX)
Law Firm: Slater Matsil, LLP (Local + 1 other metros)
Application No., Date, Speed: 13926904 on 06/25/2013 (1533 days app to issue)
Abstract: A method for initiating a random access includes generating a first downlink control information (DCI) including random access parameters and selecting a control channel from a first downlink control channel in common search space of a first subframe and a second downlink control channel in a data region of the first subframe. The method also includes mapping the first DCI to the control channel and transmitting, by a communications controller to a UE, symbols of the first subframe including the first DCI in the control channel. Additionally, the method includes receiving, by the communications controller from the UE, a random access waveform in accordance with the random access parameters and transmitting, by the communications controller to the UE, after receiving the random access waveform, a second subframe including a second DCI in a control channel of the second subframe, where the second DCI includes scheduling information for a random access response.
[H04W] WIRELESS COMMUNICATION NETWORKS [2009.01]
Communication systems and methods for flexible telematics at a vehicle
Patent No. 9756668
Inventor(s): Craig George Kenneth Copland (Rowley, MA), Robert Orson Ellingson (Grapevine, TX), Sammy Halimi (Carrollton, TX), Tod Farrell (Coppell, TX)
Assignee(s): Sirius XM Connected Vehicle Services Inc. (Irving, TX)
Law Firm: Mayback Hoffman, P.A. (2 non-local offices)
Application No., Date, Speed: 15097214 on 04/12/2016 (511 days app to issue)
Abstract: A system for allocating communications resources for telematics communications includes a service provider, a gateway, a currently paired mobile device having at least first and second communications channels through which communication occurs to the service provider, sensing speed or acceleration of the mobile device based on internal data, detecting changes in speed or acceleration based upon the internal data, and determining that an event notification is to be sent to the service provider based upon the detected change in the speed or acceleration. A telematics device has at least a third communications channel through which communication occurs to the service provider. The telematics device and/or the mobile device determines which of the first, second, and third communications channels is to be used to communicate to the service provider and the respective one of the telematics device and the mobile device sends the event notification to the service provider.
[H04W] WIRELESS COMMUNICATION NETWORKS [2009.01]
System and method for providing IP version interworking for IMS access through EPC
Patent No. 9756681
Inventor(s): Anish Sharma (Richardson, TX), Mandeep Singh (Allen, TX)
Assignee(s): MAVENIR SYSTEMS, INC. (Richardson, TX)
Law Firm: Ohlandt, Greeley, Ruggiero Perle, L.L.P. (1 non-local offices)
Application No., Date, Speed: 14465303 on 08/21/2014 (1111 days app to issue)
Abstract: A Packet Data Network Gateway (PGW) network node of an Evolved Packet Core (EPC) for interfacing with an IP Multimedia Core Network Subsystem (IMS) comprises an IP address assignment functionality module configured to assign both IPv4 and IPv6 addresses to a User Equipment (UE) requesting an IPv6 address, a Network Address Translation-Application Layer Gateway (NAT64-ALG) functionality module and PGW configured to translate between IPv4 and IPv6 addresses, a Gx interface toward a Policy Control and Charging Rules Function (PCRF) network node configured to transmit the UE’s IPv4 address to the PCRF, and an SGi interface toward an application node of the IMS configured the UE’s IPv4 address to the application node, and to transmit and receive IP media packets between the IMS and the UE after IPv4 and IPv6 address translation.
[H04W] WIRELESS COMMUNICATION NETWORKS [2009.01]
Nano-emitter ion source neutron generator
Patent No. 9756714
Inventor(s): Juan Navarro-Sorroche (Plano, TX)
Assignee(s): Halliburton Energy Services, Inc. (Houston, TX)
Law Firm: Gilliam IP PLLC (1 non-local offices)
Application No., Date, Speed: 14777629 on 12/31/2013 (1344 days app to issue)
Abstract: A well logging tool includes a neutron generator having an ion source for ion production by electron impact ionization wherein ionization current trajectory is determined by an electric field and an at least partially misaligned magnetic field. The electric field can be provided by an electrode arrangement having a cathode associated with a field emitter array including a multitude of nanoemitters. The magnetic field can be provided by a permanent magnet incorporated in the neutron generator to act transversely to the electric field in at least part of an ion source chamber in which an ionization current emitted by the field emitter array travels through an ionizable gas. Charged particles traveling through the ionizable gas thus follow respective trajectories that are longer than would be the case in the absence of the magnetic field, thereby increasing ionization probability.
[H05H] PLASMA TECHNIQUE (ion-beam tubes H01J 27/00; magnetohydrodynamic generators H02K 44/08; producing X-rays involving plasma generation H05G 2/00); PRODUCTION OF ACCELERATED ELECTRICALLY- CHARGED PARTICLES OR OF NEUTRONS (obtaining neutrons from radioactive sources G21, e.g. G21B, G21C, G21G); PRODUCTION OR ACCELERATION OF NEUTRAL MOLECULAR OR ATOMIC BEAMS (atomic clocks G04F 5/14; devices using stimulated emission H01S; frequency regulation by comparison with a reference frequency determined by energy levels of molecules, atoms, or subatomic particles H03L 7/26)
DESIGN PATENTS

[PATENT NO.D796315 IMAGE VIA USPTO]
Storage device blister tray
Patent No. D796315
Inventor(s): Solivan Hiep (San Jose, CA)
Assignee(s): Sandisk Technologies LLC (Plano, TX)
Law Firm: Brinks Gilson Lione (7 non-local offices)
Application No., Date, Speed: 29564230 on 05/11/2016 (482 days app to issue)
Abstract: No Abstract Patent Class: N/A
Storage device blister tray
Patent No. D796316
Inventor(s): Solivan Hiep (San Jose, CA)
Assignee(s): Sandisk Technologies LLC (Plano, TX)
Law Firm: Brinks Gilson Lione (7 non-local offices)
Application No., Date, Speed: 29564232 on 05/11/2016 (482 days app to issue)
Abstract: No Abstract Patent Class: N/A
Throwing apparatus
Patent No. D796594
Inventor(s): Kyle Douglas Burger (Seattle, WA), Ryan Daniel Wills (Carrollton, TX)
Assignee(s): DOSKOCIL MANUFACTURING COMPANY, INC. (Arlington, TX)
Law Firm: Global IP Counselors, LLP (9 non-local offices)
Application No., Date, Speed: 29556197 on 02/29/2016 (554 days app to issue)
Abstract: No Abstract Patent Class: N/A
Throwing apparatus
Patent No. D796595
Inventor(s): Kyle Douglas Burger (Seattle, WA), Ryan Daniel Wills (Carrollton, TX)
Assignee(s): DOSKOCIL MANUFACTURING COMPANY, INC. (Arlington, TX)
Law Firm: Global IP Counselors, LLP (9 non-local offices)
Application No., Date, Speed: 29556201 on 02/29/2016 (554 days app to issue)
Abstract: No Abstract Patent Class: N/A
Valve member
Patent No. D796632
Inventor(s): Charles Hensley (Burleson, TX), Jacob A. Bayyouk (Richardson, TX)
Assignee(s): S.P.M. FLOW CONTROL, INC. (Fort Worth, TX)
Law Firm: Haynes and Boone, LLP (Local + 13 other metros)
Application No., Date, Speed: 29556055 on 02/26/2016 (557 days app to issue)
Abstract: No Abstract Patent Class: N/A
Ultrasonic cleaner
Patent No. D796749
Inventor(s): Daniel L. Kessler (Dallas, TX), Henry M. Kessler (Dallas, TX)
Assignee(s): Sy Kessler Sales, Inc. (Dallas, TX)
Law Firm: Griggs Bergen LLP (Local)
Application No., Date, Speed: 29566993 on 06/03/2016 (459 days app to issue)
Abstract: No Abstract Patent Class: N/A












